授权公布号:CN218021440U
一种可调节式随车起重运输车泵架
有效
申请
2022-10-09
申请公布
1970-01-01
授权
2022-12-13
预估到期
2032-10-09
| 申请号 | CN202222649004.5 |
| 申请日 | 2022-10-09 |
| 授权公布号 | CN218021440U |
| 授权公告日 | 2022-12-13 |
| 分类号 | B60R11/00;B66C23/62 |
| 分类 | 一般车辆; |
| 申请人名称 | 泰安古河随车起重机有限公司 |
| 申请人地址 | 山东省泰安市高新技术产业开发区中天门大街1118号 |
专利法律状态
2022-12-13
授权
状态信息
授权
摘要
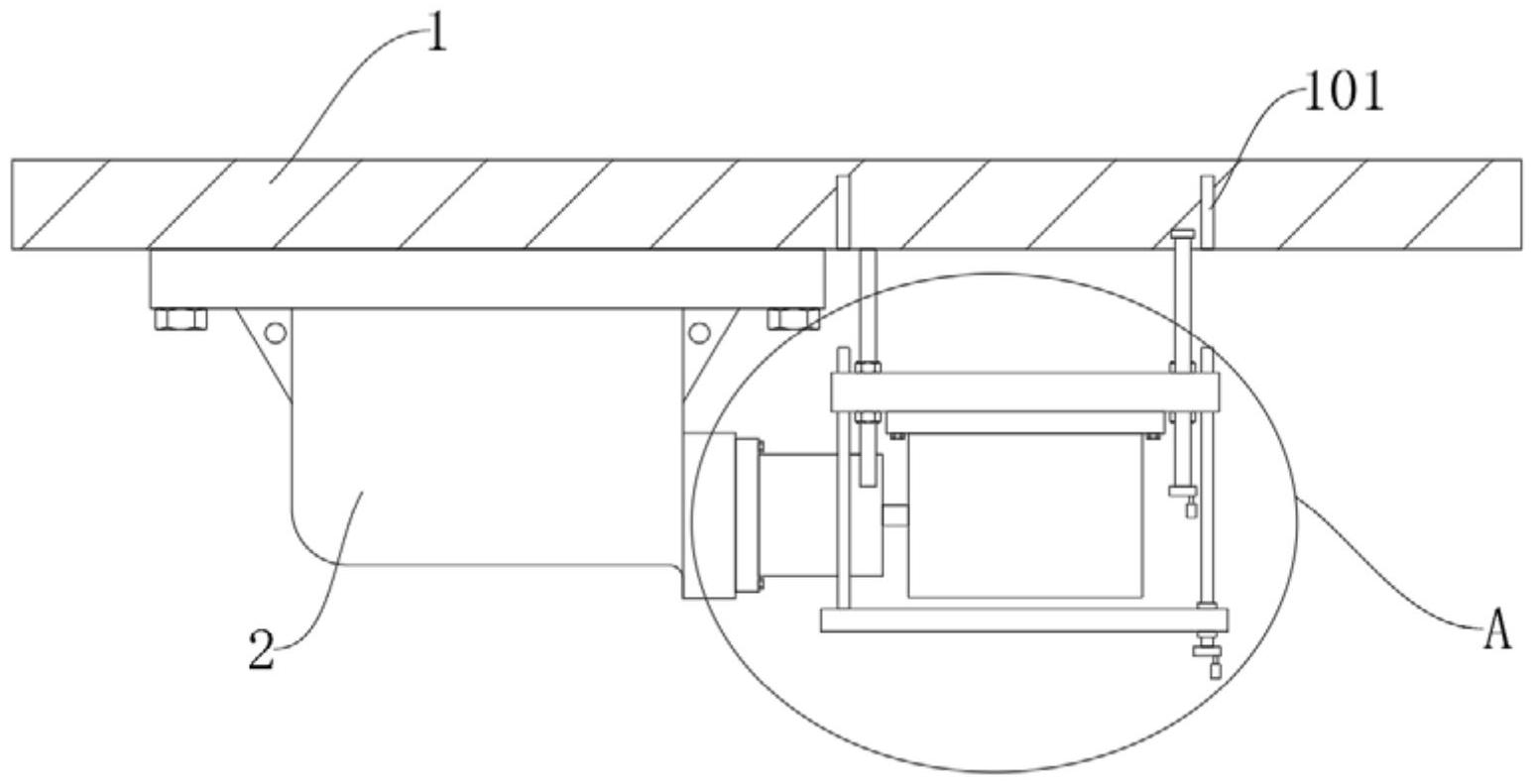
本实用新型公开了一种可调节式随车起重运输车泵架,属于泵架技术领域。一种可调节式随车起重运输车泵架,包括车身、滑板,所述车身上转动连接有丝杆一,所述车身上固定连接有三根螺杆,所述滑板上设有多个贯穿孔,所述丝杆一与其中一个贯穿孔通过螺纹转动连接;本实用新型通过将油泵固定在滑板上,随着丝杆一的转动,便能实现油泵的上下移动,实现对油泵支架的调节,便于实现不同的油泵与取力器相连接,同时通过丝杆二的转动使下方的滑动板向上移动,对油泵的底部进行夹持,通过对油泵底部的夹持增强油泵自身的稳定性,减少车辆在运输过程中,车辆的晃动对油泵固定的稳定性造成的影响,同时还能对油泵起到一定保护作用。


