授权公布号:CN214358945U
一种起重机抓取装置
有效
申请
2021-03-02
申请公布
1970-01-01
授权
2021-10-08
预估到期
2031-03-02
| 申请号 | CN202120449480.5 |
| 申请日 | 2021-03-02 |
| 授权公布号 | CN214358945U |
| 授权公告日 | 2021-10-08 |
| 分类号 | B65G47/91 |
| 分类 | 输送;包装;贮存;搬运薄的或细丝状材料; |
| 申请人名称 | 泰安古河随车起重机有限公司 |
| 申请人地址 | 山东省泰安市高新技术产业开发区中天门大街1118号 |
专利法律状态
2021-10-08
授权
状态信息
授权
摘要
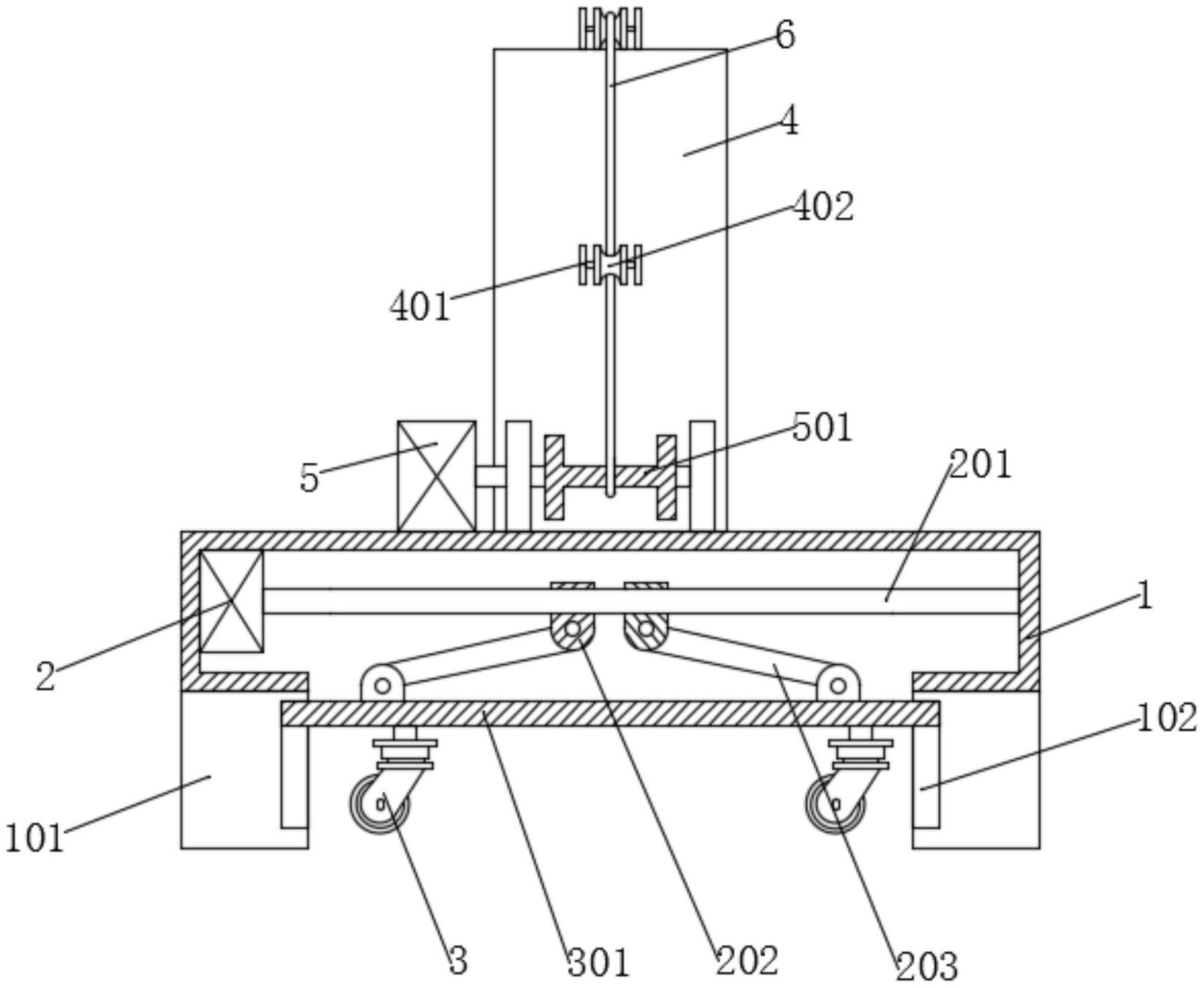
本实用新型公开了一种起重机抓取装置,属于起重机技术领域,一种起重机抓取装置,包括框架,所述框架上设有升降机构,所述框架上固定连接有导向杆,所述导向杆为对称设计的两个,两个所述导向杆上分别滑动连接有箱体和滑套,所述滑套与框架之间连接有弹簧,所述箱体上设有夹持机构,所述升降机构通过钢丝绳与箱体相连接,所述框架内壁固定连接有第一电机,所述框架底部固定连接有支撑座,所述支撑座内壁滑动连接有支撑板;本实用新型结构简单,操作便捷,通过丝杆与支撑杆的相互配合达到对框架起到便于移动,通过滑套与弹簧的相互配合达到对箱体起到缓冲减震,有效的防止了物品因冲压造成损坏的情况,实用性大大提高。


