授权公布号:CN217173073U
一种随车起重机支腿油缸保护装置
有效
申请
2022-01-25
申请公布
1970-01-01
授权
2022-08-12
预估到期
2032-01-25
| 申请号 | CN202220203026.6 |
| 申请日 | 2022-01-25 |
| 授权公布号 | CN217173073U |
| 授权公告日 | 2022-08-12 |
| 分类号 | B66C23/80 |
| 分类 | 卷扬;提升;牵引; |
| 申请人名称 | 泰安古河随车起重机有限公司 |
| 申请人地址 | 山东省泰安市高新技术产业开发区中天门大街1118号 |
专利法律状态
2022-08-12
授权
状态信息
授权
摘要
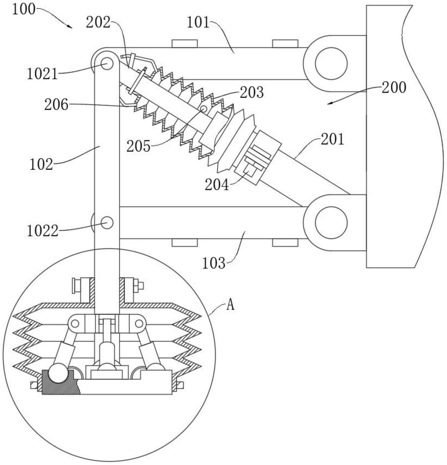
本实用新型公开了一种随车起重机支腿油缸保护装置,属于起重机技术领域。一种随车起重机支腿油缸保护装置,包括设置在所述起重机上的支架以及用于控制支架翻转的支腿油缸本体,用于分散重力的底板,所述底板上设置有第一球铰座,所述支架的底部设置有与第一球铰座铰接的第一铰球;设置在所述底板上的第二球铰座;伸缩油缸,通过第二铰球铰接在第二球铰座上;本实用新型通过使底板根据地面的坡度自动调节倾斜面,使底板与地面最大化接触,并通过伸缩油缸对支腿架进行支撑,使支腿架始终保持竖直状态,从而避免起重机起吊时受力前倾导致导致支腿架弯曲,从而防止支腿油缸本体受力弯折,从而避免支腿油缸本体损坏。


