授权公布号:CN220393148U
一种起重机支腿松动检测装置
有效
申请
2023-07-08
申请公布
1970-01-01
授权
2024-01-26
预估到期
2033-07-08
| 申请号 | CN202321786172.7 |
| 申请日 | 2023-07-08 |
| 授权公布号 | CN220393148U |
| 授权公告日 | 2024-01-26 |
| 分类号 | B66C23/80;B66C23/88;G01V3/02 |
| 分类 | 卷扬;提升;牵引; |
| 申请人名称 | 泰安古河随车起重机有限公司 |
| 申请人地址 | 山东省泰安市高新技术产业开发区中天门大街1118号 |
专利法律状态
2024-01-26
授权
状态信息
授权
摘要
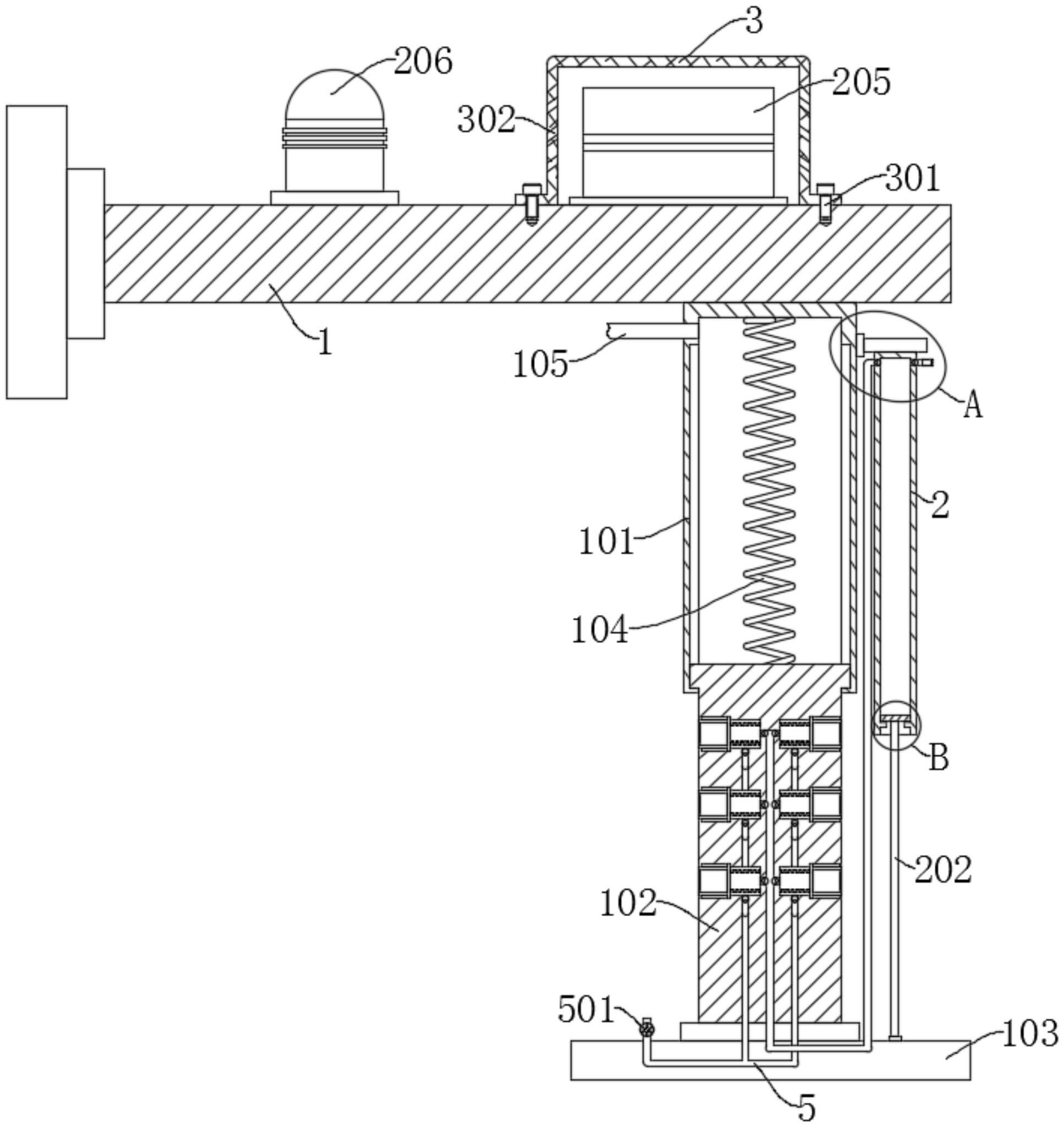
本实用新型公开了一种起重机支腿松动检测装置,涉及起重机领域。一种起重机支腿松动检测装置,包括支臂,所述支臂上固定安装有上支腿,所述上支腿内滑动连接有下支腿,所述上支腿与下支腿之间固定连接有弹簧一,所述上支腿上设有向内部充液压油的液压油管,还包括:底盘,固定连接在所述下支腿上;本实用新型,在对起重机提供支撑时,通过观察LED灯是否熄灭,进而能够实现对下支腿是否出现向上移动进行检测,若LED灯熄灭,能够起到提醒工作人员下支腿出现位移的作用,以及在下支腿出现位移时,能够达到对下支腿起到限位固定的作用,使得为起重机驾驶员争取足够的时间逃离出驾驶舱,避免下支腿出现向上大距离的位移,引发安全隐患。


