授权公布号:CN214129966U
一种核电非放射区域防护服
有效
申请
2020-12-17
申请公布
1970-01-01
授权
2021-09-07
预估到期
2030-12-17
| 申请号 | CN202023037505.5 |
| 申请日 | 2020-12-17 |
| 授权公布号 | CN214129966U |
| 授权公告日 | 2021-09-07 |
| 分类号 | A62B17/00;A62B7/10 |
| 分类 | 救生;消防; |
| 申请人名称 | 上海誉甲自动化技术有限公司 |
| 申请人地址 | 上海市闵行区浦江镇江月路999号3号楼504 |
专利法律状态
2021-09-07
授权
状态信息
授权
摘要
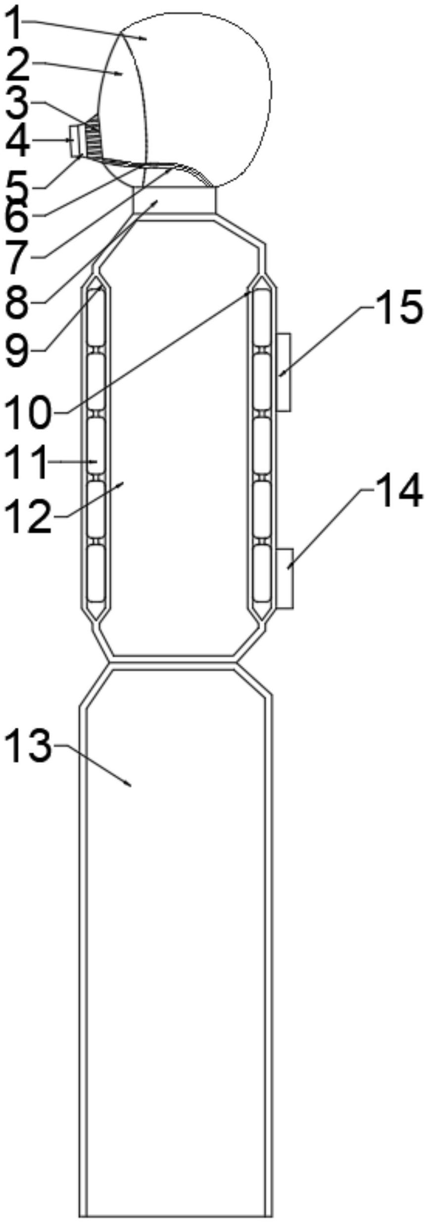
本实用新型公开了一种核电非放射区域防护服,涉及核防护服技术领域;包括头套、上衣、裤子、防护铅板、气流分离器、辐射探测器、气体连接基座和呼吸器;所述头套前方固接有透明的面罩,所述面罩上固接有呼吸器,所述呼吸器固接过滤嘴,所述过滤嘴外侧固接密封盖;所述头套下方固接颈部护套,所述颈部护套下方固接上衣,所述上衣连接裤子;所述上衣的后背固接有气流分离器和气体连接基座,所述呼吸器在头套内部固接进气管和出气管,所述进气管出气管依次连接气流分离器和气体连接基座。本防护服能够根据外侧辐射浓度更换呼吸方式,在辐射不超表示不需要外接的呼吸系统,在辐射超标时能够便携的玉呼吸系统进行连接。


