授权公布号:CN216830981U
一种工业机器人行走轨道
有效
申请
2021-12-17
申请公布
1970-01-01
授权
2022-06-28
预估到期
2031-12-17
| 申请号 | CN202123187845.0 |
| 申请日 | 2021-12-17 |
| 授权公布号 | CN216830981U |
| 授权公告日 | 2022-06-28 |
| 分类号 | B25J19/00;B25J5/02 |
| 分类 | 手动工具;轻便机动工具;手动器械的手柄;车间设备;机械手; |
| 申请人名称 | 工博士机器人技术有限公司 |
| 申请人地址 | 上海市嘉定区江桥镇沙河路337号1_203室J327 |
专利法律状态
2022-06-28
授权
状态信息
授权
摘要
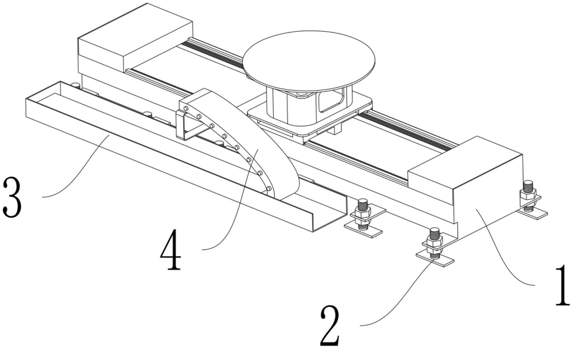
本实用新型公开了一种工业机器人行走轨道,包括轨道、地面连接装置、链槽以及拖链,所述轨道包括底座、伸出板、导轨、滑块、中连接块、机器人安装板,地面连接装置包括地面连接板、调节螺栓、上调节螺母以及下调节螺母,滑块下设有移动转装置,移动装置包括移动电机以及斜齿轮,滑块下设有润滑装置,所述润滑装置包括润滑油箱、润滑油泵、供油管以及涂油装置,涂油装置包括储油腔、宽油道、窄油道、出油柱、毛毡轮以及渗油孔,所述底座两端设有弹性缓冲器。本实用新型属于工业机器人设备技术领域,具体是提供了一种在出现油压变化时出油量几乎不变,结构简单,可以紧急大量供油润滑,运行稳定的工业机器人行走轨道。


