授权公布号:CN213932007U
窑尾半成品进粉余料循环系统
有效
申请
2020-12-21
申请公布
1970-01-01
授权
2021-08-10
预估到期
2030-12-21
| 申请号 | CN202023098345.5 |
| 申请日 | 2020-12-21 |
| 授权公布号 | CN213932007U |
| 授权公告日 | 2021-08-10 |
| 分类号 | F27B7/32;B28B11/24 |
| 分类 | 炉;窑;烘烤炉;蒸馏炉〔4〕; |
| 申请人名称 | 郑州德赛尔陶粒有限公司 |
| 申请人地址 | 河南省郑州市巩义市大峪沟镇杨里村 |
专利法律状态
2021-08-10
授权
状态信息
授权
摘要
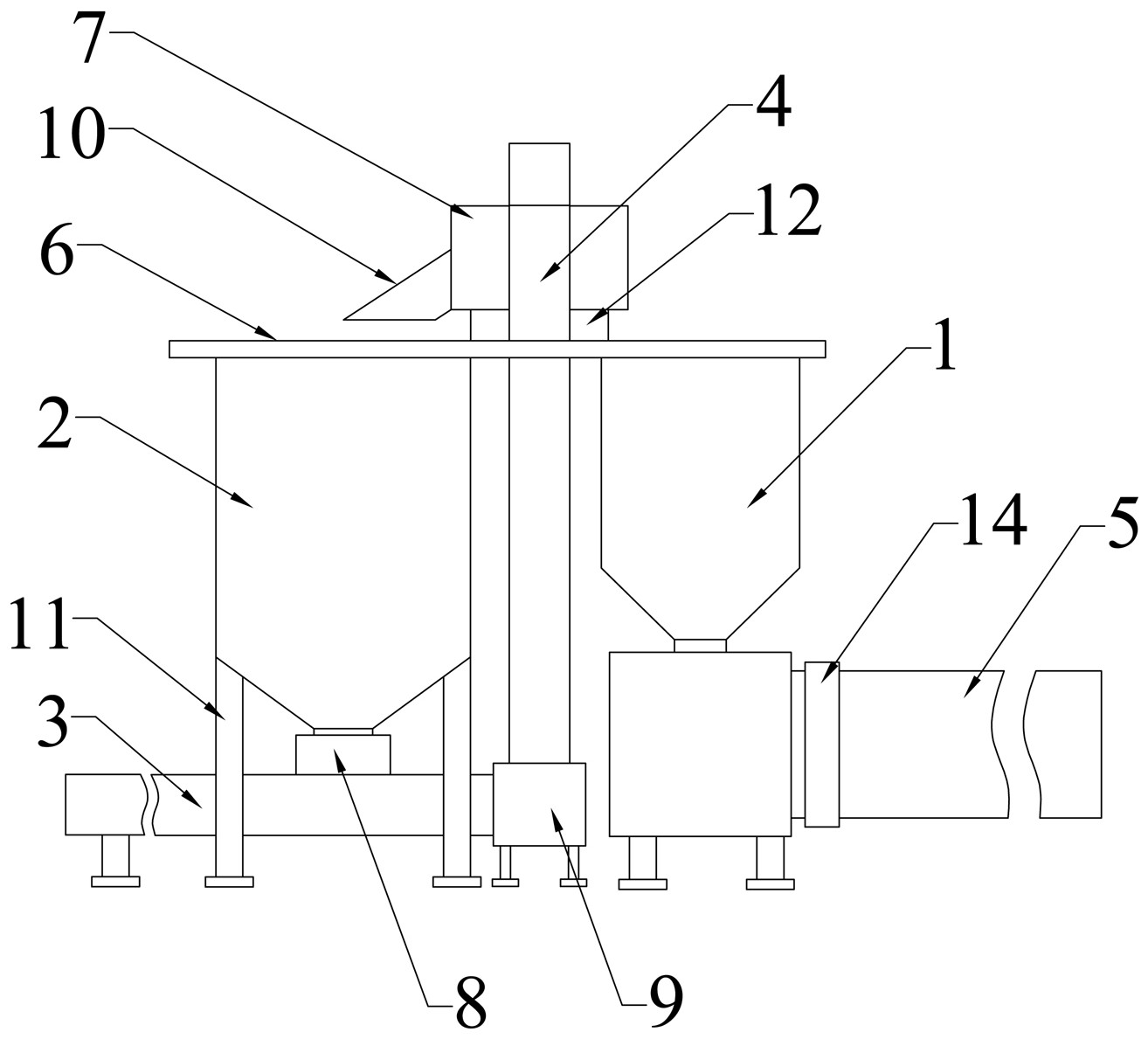
本实用新型属于陶粒制造技术领域,具体涉及一种窑尾半成品进粉余料循环系统。该系统包括提升机、传送机构、储料仓、暂储仓和接料转向机构,暂储仓与储料仓并列设置且之间设有连接平台;传送机构包括传送筒和传送带,传送带位于传送筒内,所述传送筒与提升机的进料斗连通;暂储仓的下方出料口与传送筒连通;接料转向机构包括转料斗,转料斗与提升机的上端出口对应连通,在转料斗的下方设有转向盘,转向盘与电机连接,转向盘的底部安装在连接平台上,在接料斗的一侧下方位置设有出料筒,电机控制转向盘转动使接料斗的出料筒与储料仓或暂储仓连通。该系统通过接料转向机构完成储料仓和暂储仓之间的短程供需及存储循环,有效解决半成品堆积压力。


