授权公布号:CN218489331U
一种墨水循环双泵回路控制系统
有效
申请
2022-09-01
申请公布
1970-01-01
授权
2023-02-17
预估到期
2032-09-01
| 申请号 | CN202222319105.6 |
| 申请日 | 2022-09-01 |
| 授权公布号 | CN218489331U |
| 授权公告日 | 2023-02-17 |
| 分类号 | B41J2/175 |
| 分类 | 印刷;排版机;打字机;模印机〔4〕; |
| 申请人名称 | 西斯特姆(中国)科技有限公司 |
| 申请人地址 | 江苏省苏州市工业园区新发路18号 |
专利法律状态
2023-02-17
授权
状态信息
授权
摘要
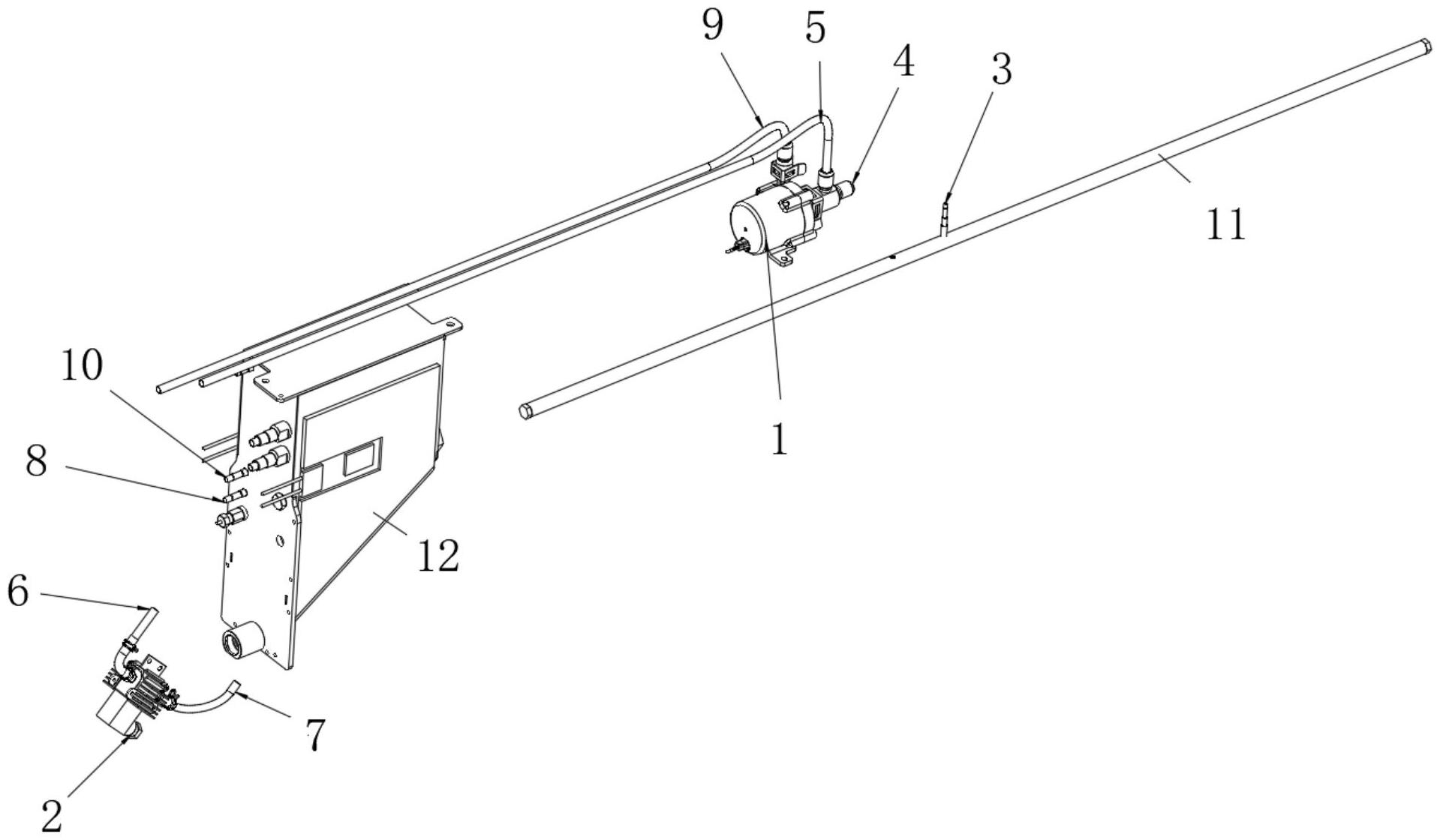
本实用新型属于数码打印机技术领域,尤其为一种墨水循环双泵回路控制系统,包括安装在打印机中的墨罐和小流量离心泵,还包括安装在墨罐上的柱塞墨泵,所述墨罐出墨管上设置有抽墨口,所述小流量离心泵上设置有离心泵主进口,所述离心泵主进口上还设置有离心泵次进口,所述柱塞墨泵一端设置有柱塞泵进口,另一端设置有柱塞泵出口,所述墨罐上设置有柱塞泵回墨接头和离心泵回墨接头,所述小流量离心泵上还设置有离心泵出口,还包括连接回路控制系统的回路墨管,通过双泵结构,首先可以解决小流量离心泵排空问题,其次比单个大流量离心泵成本更低,同时还比单柱塞泵的寿命长很多。


