授权公布号:CN210952374U
一种隧道窑循环冷却系统
有效
申请
2019-08-21
申请公布
1970-01-01
授权
2020-07-07
预估到期
2029-08-21
| 申请号 | CN201921366923.3 |
| 申请日 | 2019-08-21 |
| 授权公布号 | CN210952374U |
| 授权公告日 | 2020-07-07 |
| 分类号 | F27D9/00 |
| 分类 | 炉;窑;烘烤炉;蒸馏炉〔4〕; |
| 申请人名称 | 广东摩德娜科技股份有限公司 |
| 申请人地址 | 广东省佛山市南海区狮山镇小塘三环西工业开发区 |
专利法律状态
2020-07-07
授权
状态信息
授权
摘要
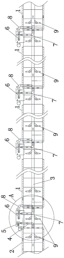
本实用新型公开了一种隧道窑的循环冷却系统,通过在隧道窑每一层产品上设置吹送冷却空气的吹风管,使多层烧制的产品冷却均匀;所述冷却系统把冷风机送出的冷风直接吹在尾冷区中,并且通过抽热风罩组将换热后的冷却空气抽送至抽热主管中,再通过各缓冷区中的循环风机将尾冷区或其下游的缓冷区中的冷却空气抽送至该缓冷区中,逐级循环利用冷却空气,降低了冷却空气与缓冷区之间的温度差,避免产品表面急速降温,导致冷却不均匀而产生开裂的现象,并且节能环保。


