授权公布号:CN212618271U
一种预混燃烧器
有效
申请
2020-06-09
申请公布
1970-01-01
授权
2021-02-26
预估到期
2030-06-09
| 申请号 | CN202021054132.X |
| 申请日 | 2020-06-09 |
| 授权公布号 | CN212618271U |
| 授权公告日 | 2021-02-26 |
| 分类号 | F23D14/02;F23D14/64;F23D14/46 |
| 分类 | 燃烧设备;燃烧方法; |
| 申请人名称 | 广东摩德娜科技股份有限公司 |
| 申请人地址 | 广东省佛山市南海区狮山镇小塘三环西工业开发区 |
专利法律状态
2021-02-26
授权
状态信息
授权
摘要
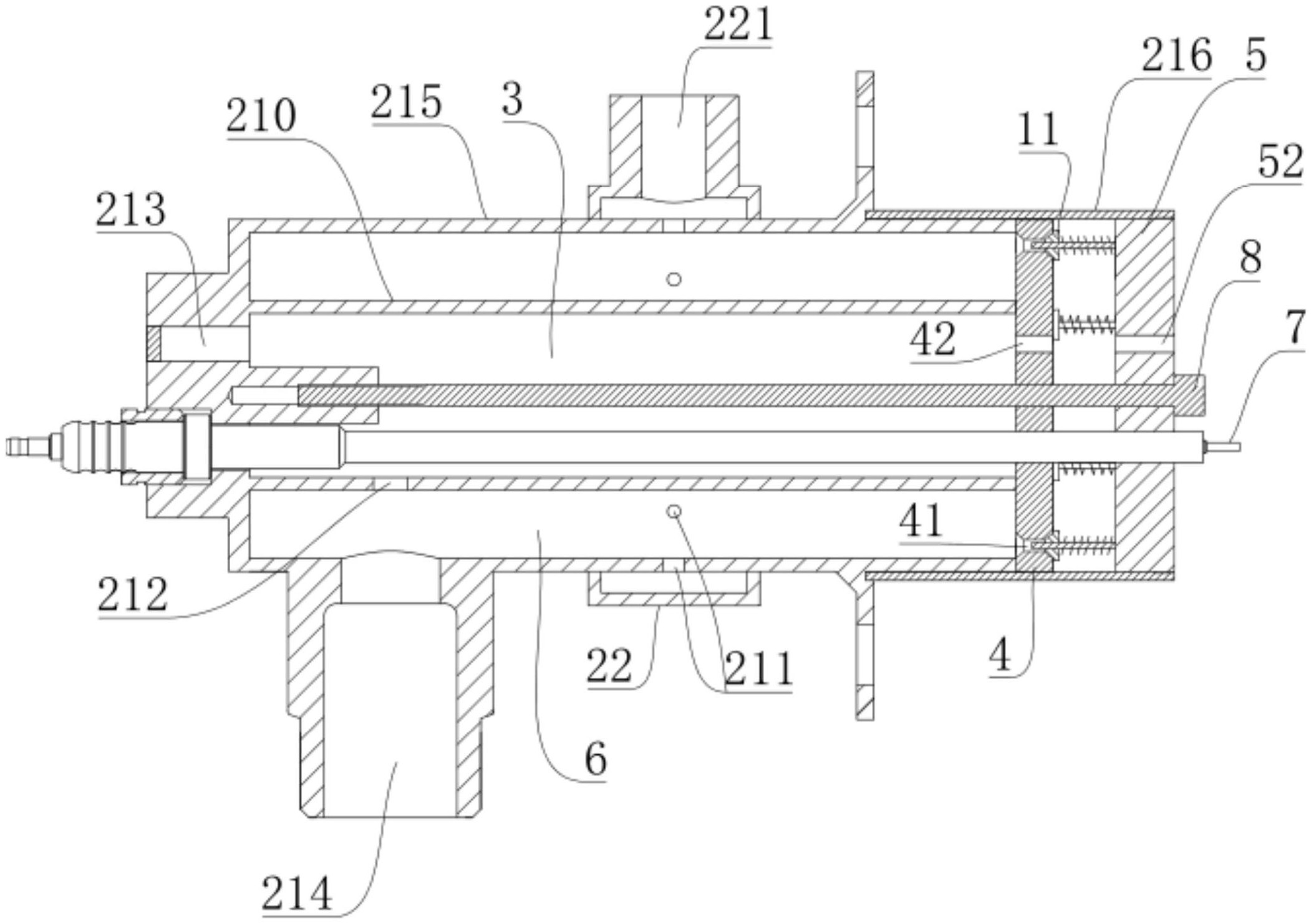
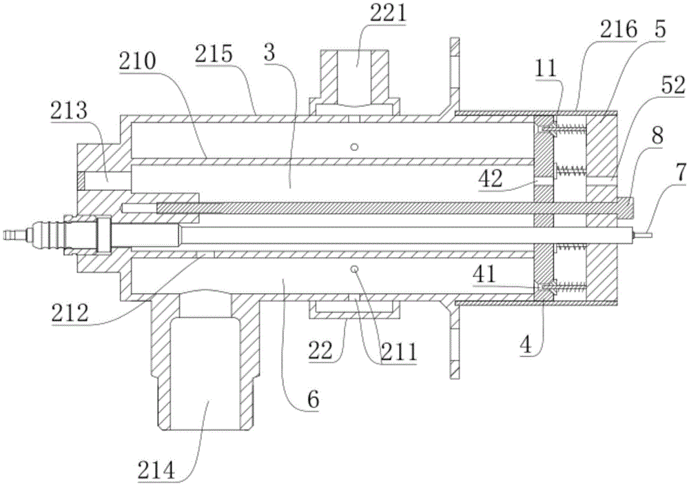
本实用新型公开了一种预混燃烧器,包括壳体、盖板、点火器;壳体呈开口向右的筒状,壳体内密封连接有环形分隔壁,壳体与环形分隔壁之间形成有混合腔,壳体的左部和右部分别设有空气连接口和燃气进气孔,燃气进气孔和空气连接口均与混合腔连通;环形分隔壁内形成有内腔,环形分隔壁上设有空气进气孔,空气进气孔与空气连接口相邻设置;盖板与壳体、环形分隔壁均密封连接;盖板上设有第一空气出孔、活塞通孔;点火器的左部设于内腔中,点火器的头部设于盖板的右方。燃气和部分空气从活塞通孔释放到点火器的头部的旁侧被点燃;另一部分空气通过空气进气孔进入内腔,从第一空气出孔流出,对点火器进行冷却,防止燃气回流到内腔中。


