授权公布号:CN212602506U
一种自洁甩釉设备
失效
申请
2020-07-30
申请公布
1970-01-01
授权
2021-02-26
预估到期
2030-07-30
| 申请号 | CN202021542883.6 |
| 申请日 | 2020-07-30 |
| 授权公布号 | CN212602506U |
| 授权公告日 | 2021-02-26 |
| 分类号 | B28B11/04 |
| 分类 | 加工水泥、黏土或石料; |
| 申请人名称 | 佛山市三水盈捷精密机械有限公司 |
| 申请人地址 | 广东省佛山市三水区三水中心科技工业区西南园C区25-2号 |
专利法律状态
2023-08-11
专利权的终止
状态信息
未缴年费专利权终止;IPC(主分类):B28B11/04;申请日:20200730;授权公告日:20210226
2021-02-26
授权
状态信息
授权
摘要
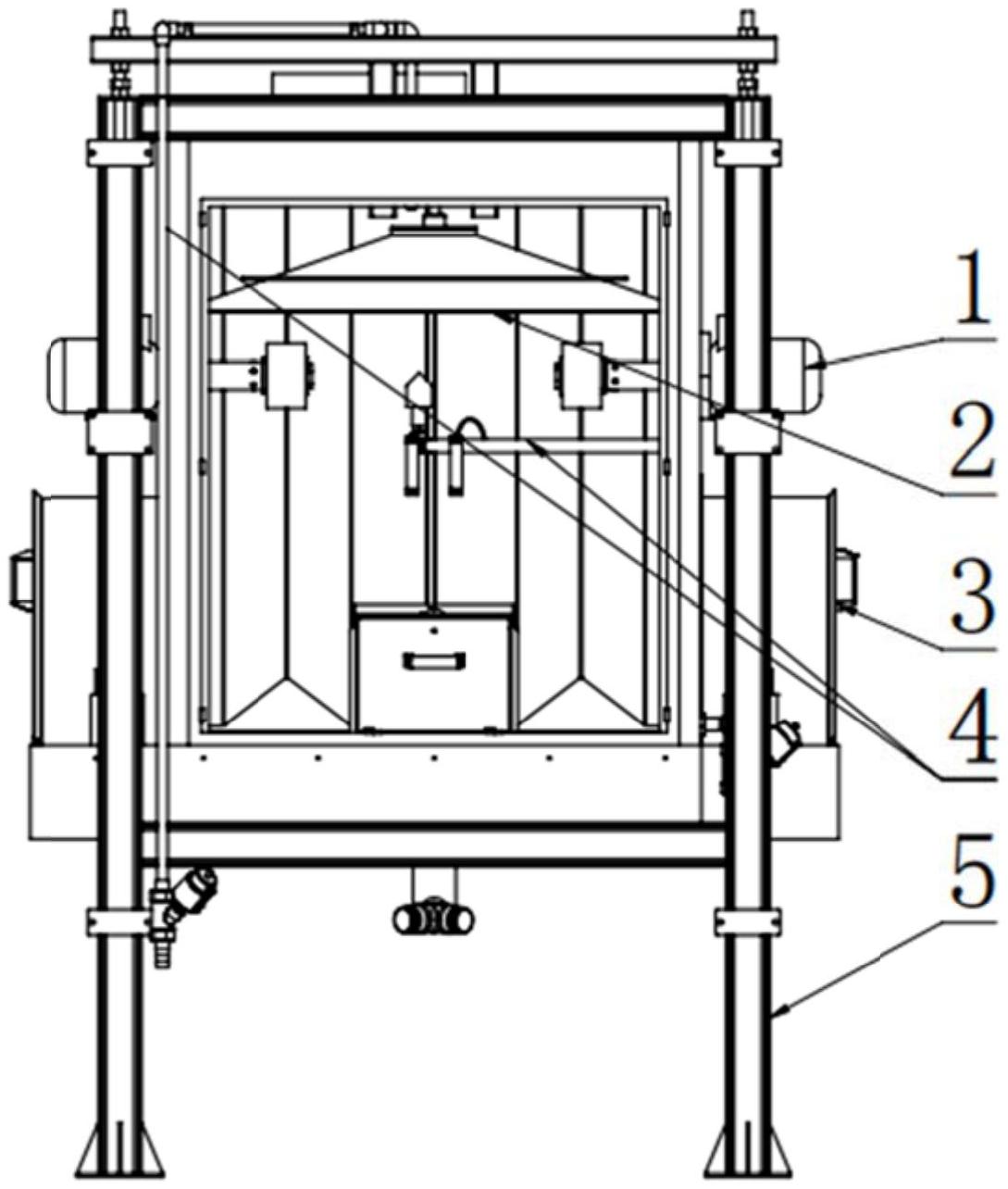
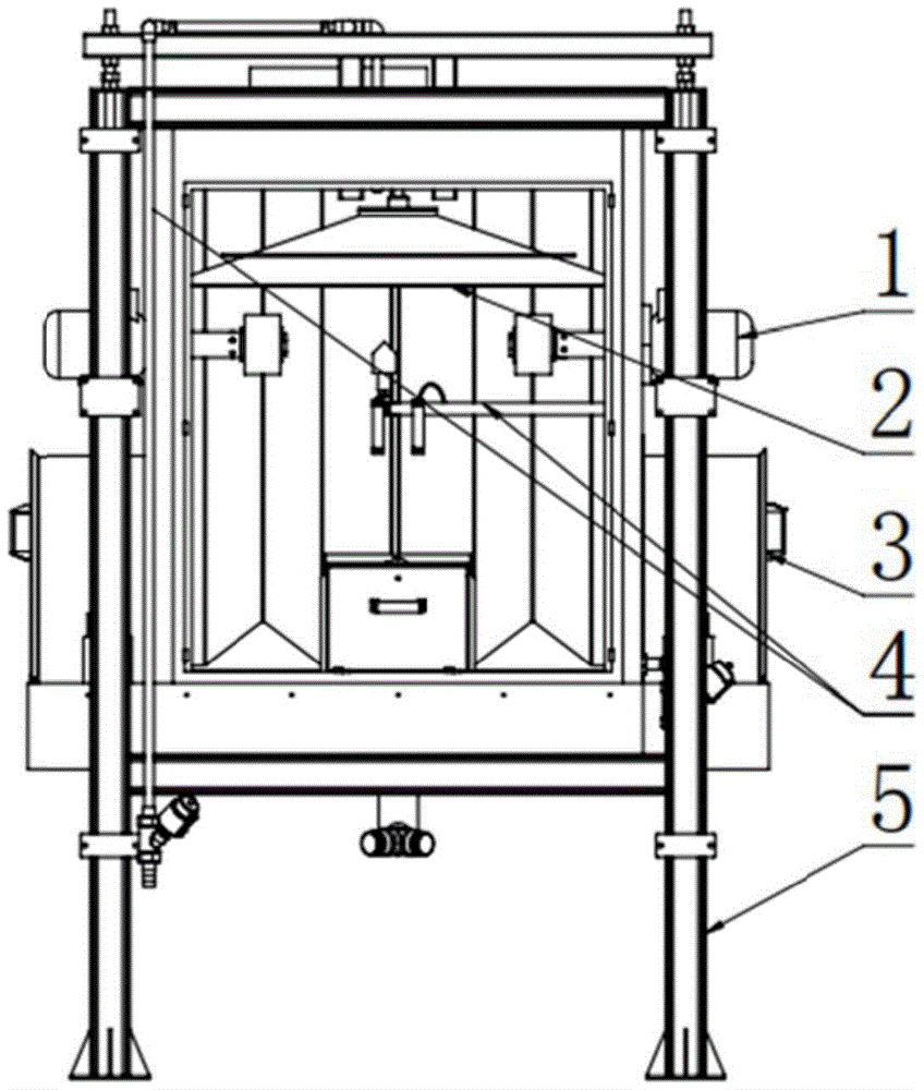
本实用新型公开了一种自洁甩釉设备,其特征在于,它包括机架及其上设置的甩釉装置、自洁装置、釉柜装置、清洗装置,自洁装置设置在甩釉装置的上方,包括电机装置和由电机装置连接带动的旋转伞,釉料通过甩釉装置甩出去,甩在上方的旋转伞上,并通过电机装置带动旋转伞转动后将中间的釉料向四周旋甩出去;釉柜装置包括柜身、底盘和输釉管,底盘设置在柜身的下部,输釉管连接底盘,经过自洁装置向四周甩出去的釉料被回收到底盘上;清洗装置设置在柜身内,包括旋转清洗喷头和与其连接的供水管道。本实用新型结构简单,操作方便。


