授权公布号:CN213792247U
一种改进扇形喷嘴的雾化结构
有效
申请
2020-07-17
申请公布
1970-01-01
授权
2021-07-27
预估到期
2030-07-17
| 申请号 | CN202021426001.X |
| 申请日 | 2020-07-17 |
| 授权公布号 | CN213792247U |
| 授权公告日 | 2021-07-27 |
| 分类号 | B05B1/04;B05B1/30 |
| 分类 | 一般喷射或雾化;对表面涂覆液体或其他流体的一般方法〔2〕; |
| 申请人名称 | 佛山市三水盈捷精密机械有限公司 |
| 申请人地址 | 广东省佛山市三水区三水中心科技工业区西南园C区25-2号 |
专利法律状态
2021-07-27
授权
状态信息
授权
2020-07-17
公布
状态信息
公布
摘要
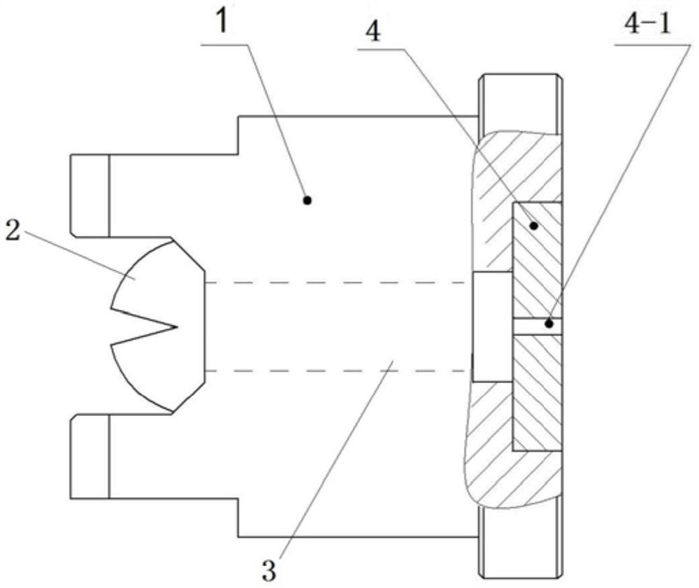
本实用新型公开一种改进扇形喷嘴的雾化结构,包括:设置有喷射腔的扇形喷嘴体,所述扇形喷嘴体安装在喷枪上,在所述扇形喷嘴体的底部设有压件,其特征在于,在所述压件上设有与所述喷射腔连通的通孔,所述喷射腔的直径小于通孔的直径;在所述喷射腔的后面设有限流结构。采用限流结构控制液体量,不让太多液体进入喷射腔,达到进喷射腔的流量与喷射口出的流量平衡,减少液体射到球面压力,减少反射对直流的液体冲击,从而雾化均匀。


