授权公布号:CN219735604U
除湿加湿一体机用抽屉结构
有效
申请
2023-04-24
申请公布
1970-01-01
授权
2023-09-22
预估到期
2033-04-24
| 申请号 | CN202320944251.X |
| 申请日 | 2023-04-24 |
| 授权公布号 | CN219735604U |
| 授权公告日 | 2023-09-22 |
| 分类号 | F24F13/32;F24F13/22;F24F13/24;F24F6/00;F24F3/14 |
| 分类 | 供热;炉灶;通风; |
| 申请人名称 | 宁波德业日用电器科技有限公司 |
| 申请人地址 | 浙江省宁波市北仑区甬江南路26号 |
专利法律状态
2023-09-22
授权
状态信息
授权
摘要
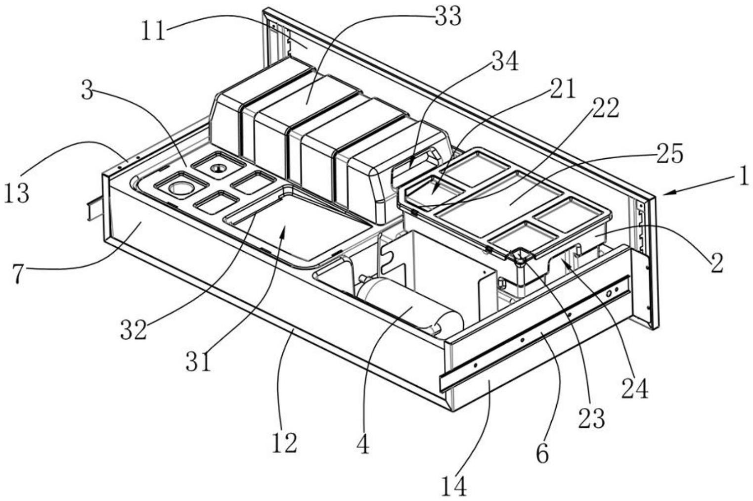
本实用新型涉及一种除湿加湿一体机用抽屉结构,包括抽屉本体和设置于抽屉本体内的冷凝水箱、循环水箱与水泵,所述抽屉本体相对于除湿加湿一体机可推入或移出,所述抽屉本体内具有一安装空间,所述冷凝水箱、循环水箱和水泵皆位于安装空间内,且所述冷凝水箱位于安装空间内靠近抽屉本体引出方向的一侧,所述冷凝水箱用于接收除湿加湿一体机工作时产生的冷凝水,所述循环水箱用于储存除湿加湿一体机加湿时所需的水源并通过管道与水泵连通,所述水泵通过管道将循环水箱内的水源输送至除湿加湿一体机的加湿部件。本实用新型有效提高了水泵和水箱日常维护和售后维修工作的便利性,能有效避免除湿加湿一体机工作时排出的废水滴落时产生滴水声,大大提升用户使用体验。


