授权公布号:CN210672038U
一种能迅速降温加热效果好的耐用型坚果烘炒装置
有效
申请
2019-08-13
申请公布
1970-01-01
授权
2020-06-05
预估到期
2029-08-13
| 申请号 | CN201921306470.5 |
| 申请日 | 2019-08-13 |
| 授权公布号 | CN210672038U |
| 授权公告日 | 2020-06-05 |
| 分类号 | A23N12/08 |
| 分类 | 其他类不包含的食品或食料;及其处理; |
| 申请人名称 | 广州果果先森生物科技有限公司 |
| 申请人地址 | 广东省广州市增城区新塘镇牛仔城二路18号 |
专利法律状态
2020-06-05
授权
状态信息
授权
摘要
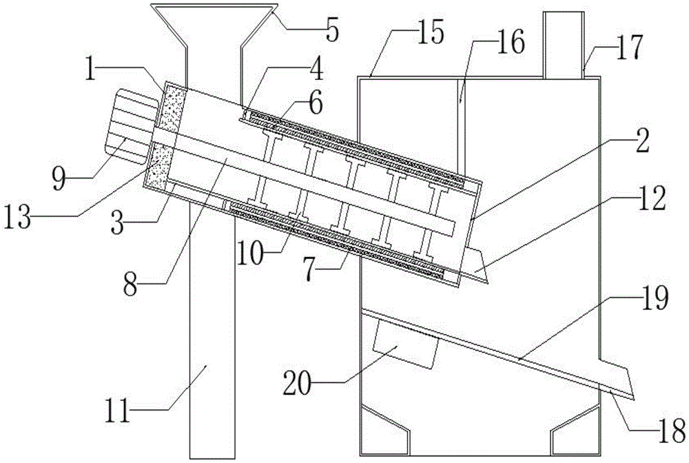
本实用新型公开了一种能迅速降温加热效果好的耐用型坚果烘炒装置,包括加热仓,所述加热仓包括外壳体,所述外壳体的一端与通气网的外圈固定连接,所述通气网的一侧与内壳体的一端固定连接,所述内壳体的中部通过四个均匀分布的连接柱与外壳体内壁的中部固定连接,所述外壳体顶部的一侧和内壳体顶部的一侧均开设有通孔,本实用新型一种能迅速降温加热效果好的耐用型坚果烘炒装置,加热仓的位置分布均匀,加热效果好,同时可实现将加工完成后的铁砂与坚果进行分离,缩减了生产工序,提升了生产效率;通过设置散热扇等结构实现了对炉体的快速降温,避免了使用完成后炉体长时间存留高温所带来的安全隐患。


