授权公布号:CN218506378U
一种用于陈皮干化、储存与陈化的网箱
有效
申请
2022-04-24
申请公布
1970-01-01
授权
2023-02-21
预估到期
2032-04-24
| 申请号 | CN202220981585.X |
| 申请日 | 2022-04-24 |
| 授权公布号 | CN218506378U |
| 授权公告日 | 2023-02-21 |
| 分类号 | B65D6/08;B65D43/02;B65D55/02 |
| 分类 | 输送;包装;贮存;搬运薄的或细丝状材料; |
| 申请人名称 | 江门丽宫国际食品股份有限公司 |
| 申请人地址 | 广东省江门市新会区会城港兴路5号 |
专利法律状态
2023-02-21
授权
状态信息
授权
摘要
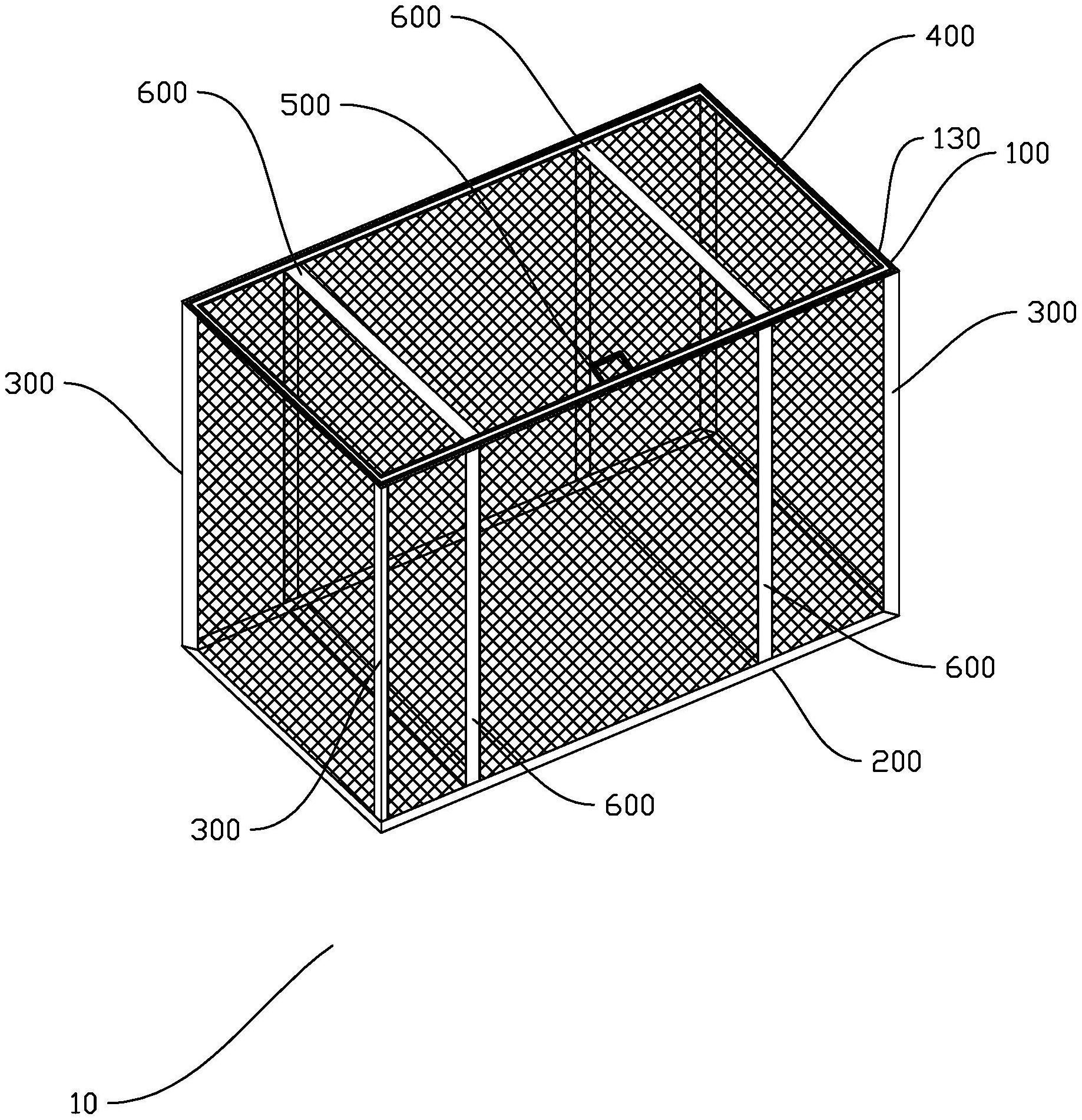
本实用新型公开了一种用于陈皮干化、储存与陈化的网箱,包括:框架,为立方体,框架由上框架、下框架和分设于上框架四角的连接杆组成;网罩,设置于框架的四壁及底部,网罩的边缘与框架固定连接,网罩的单个网格的尺寸为2mm×2mm;箱门盖设于框架的顶部;门锁包括锁体和锁扣,锁体和锁扣分设于箱门和上框架上,箱门与框架通过门锁实现网箱的锁闭。网箱主要由框架、网罩和箱门组成,其中,网罩的单个网格的尺寸为2mm×2mm,可防止大部分体型较大的昆虫进入网箱内,还可防止陈皮从网箱内掉落,还可便于陈皮在陈化过程中,皮表的囊在碎化后可从箱内掉出,陈皮在干化、储存、陈化的过程中无需转移降低了工人的劳动强度。


