授权公布号:CN213404739U
一种用于陈皮茶生产的高效率揉捻杀青装置
有效
申请
2020-10-22
申请公布
1970-01-01
授权
2021-06-11
预估到期
2030-10-22
| 申请号 | CN202022371563.5 |
| 申请日 | 2020-10-22 |
| 授权公布号 | CN213404739U |
| 授权公告日 | 2021-06-11 |
| 分类号 | A23F3/34 |
| 分类 | 其他类不包含的食品或食料;及其处理; |
| 申请人名称 | 江门市新会区泓达堂陈皮茶业有限公司 |
| 申请人地址 | 广东省江门市新会区双水镇梅冈村连西村民小组西咀围(二期厂房) |
专利法律状态
2021-06-11
授权
状态信息
授权
摘要
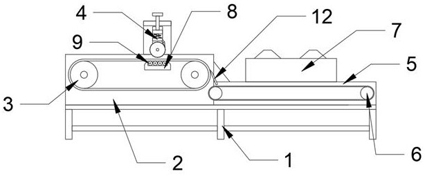
本实用新型公开了一种用于陈皮茶生产的高效率揉捻杀青装置,包括支架,所述支架顶部一端对称固定有第一侧板,两个所述第一侧板之间安装有第一传送带,两个所述第一侧板顶部固定有揉捻装置,所述支架上表面一端对称固定有第二侧板,两个第二侧板之间安装有第二传送带,两个所述第二侧板顶部固定有低温烘干器,所述揉捻装置包括第一U形板、滑槽、第二U形板、碾压辊、伺服电机、滑板、伸缩杆、弹簧、螺纹杆和旋钮,两个所述第一侧板顶部固定有第一U形板,本实用新型通过揉捻装置对陈皮进行碾压,使得陈皮内部发生变化,破坏陈皮内部组织,以便于陈皮可以更加快速的将内部成分泡出,提高口感,且可根据陈皮厚度进行调节,便于人们使用。


