授权公布号:CN214598591U
一种便于取样的涂料加工用高速分散机
有效
申请
2021-03-11
申请公布
1970-01-01
授权
2021-11-05
预估到期
2031-03-11
| 申请号 | CN202120520318.8 |
| 申请日 | 2021-03-11 |
| 授权公布号 | CN214598591U |
| 授权公告日 | 2021-11-05 |
| 分类号 | B01F7/26;B01F15/00 |
| 分类 | 一般的物理或化学的方法或装置; |
| 申请人名称 | 河北正翔防火材料有限公司 |
| 申请人地址 | 河北省邯郸市鸡泽县吴官营乡旧城营村村北200米 |
专利法律状态
2021-11-05
授权
状态信息
授权
摘要
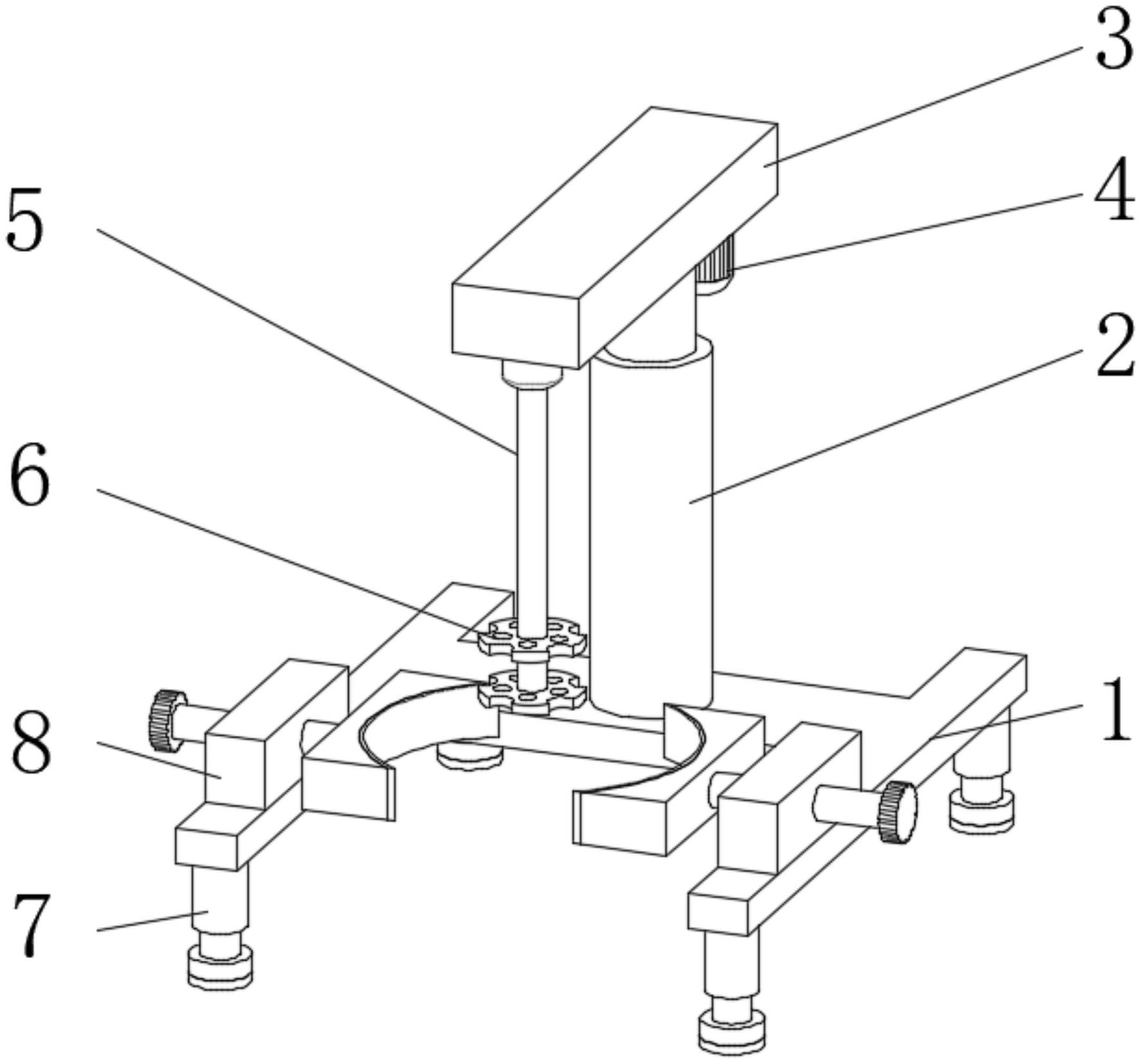
本实用新型公开了一种便于取样的涂料加工用高速分散机,包括装置底架,所述装置底架的底面四角均设有减震机构,所述减震机构包括固定安装筒,所述固定安装筒的内部设有活动块,所述固定安装筒的内部底面与活动块之间分别设有伸缩柱与弹簧,所述伸缩柱与弹簧的一端与固定安装筒的内部底面固定连接,所述伸缩柱与弹簧的另一端与活动块的顶面固定连接,所述活动块的底面固定安装有支撑脚架。通过设计的减震机构,在进行使用时,装置整体产生的震动传输到减震机构,然后通过伸缩柱与弹簧带动支撑脚架向固定安装筒的内部收缩,来减小装置整体在使用过程中的震动问题,有效的解决了装置整体在使用时由于震动产生较大噪音和致使原料分散不均匀的问题。


