授权公布号:CN210513369U
一种便于安装的汽车衡柱式传感器
有效
申请
2019-10-29
申请公布
1970-01-01
授权
2020-05-12
预估到期
2029-10-29
| 申请号 | CN201921832784.9 |
| 申请日 | 2019-10-29 |
| 授权公布号 | CN210513369U |
| 授权公告日 | 2020-05-12 |
| 分类号 | G01G19/02 |
| 分类 | 测量;测试; |
| 申请人名称 | 安徽恒远电子称重设备有限公司 |
| 申请人地址 | 安徽省淮南市凤台县大山镇凤淮路北侧凤凰工业园区 |
专利法律状态
2020-05-12
授权
状态信息
授权
摘要
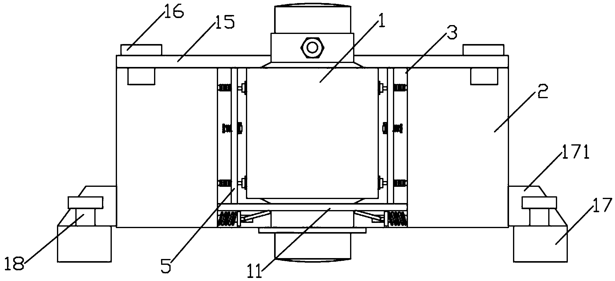
本实用新型公开一种便于安装的汽车衡柱式传感器,包括主体、安装壳,安装壳内固定开设有空腔,空腔两侧内壁对称安装有四个弹簧杆,四个弹簧杆对称连接两个直立板两端位置,直立板远离弹簧杆一侧表面固定安装有两个液压杆,液压杆远离直立板一端接触主体外壁。本实用新型当安装壳摔落时,主体侧壁挤压两侧液压杆,液压杆挤压直立板,进而通过直立板挤压弹簧杆,弹簧杆收缩,弹簧杆收缩后海绵垫接触空腔内壁,进而海绵垫推动活动销,活动销带动第一弹簧收缩,配合减小主体的水平方向振动,主体底部向下挤压底部支撑板,底部支撑板配合两个转动销发生转动,转动销与杆套发生转动并带动第二弹簧在固定销表面收缩,进而减小主体的垂直方向振动。


