授权公布号:CN209069401U
一种用于电子吊钩秤的传感器组件
有效
申请
2018-12-27
申请公布
1970-01-01
授权
2019-07-05
预估到期
2028-12-27
| 申请号 | CN201822218434.5 |
| 申请日 | 2018-12-27 |
| 授权公布号 | CN209069401U |
| 授权公告日 | 2019-07-05 |
| 分类号 | G01G19/14 |
| 分类 | 测量;测试; |
| 申请人名称 | 安徽恒远电子称重设备有限公司 |
| 申请人地址 | 安徽省淮南市凤台县大山镇凤淮路北侧凤凰工业园 |
专利法律状态
2019-07-05
授权
状态信息
授权
摘要
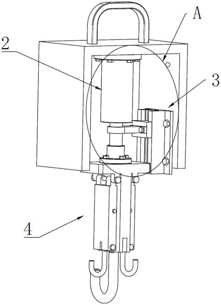
本实用新型提供一种用于电子吊钩秤的传感器组件,包括秤体、气体阻尼器、传感机构和挂物机构,气体阻尼器安装在秤体内并与传感机构连接,挂物机构包括支撑架、侧板、顶板、大挂钩和小挂钩,支撑架安装在气体阻尼器底部,其中支撑架上设有大挂钩,两个侧板分别铰接在支撑架的两侧,其中侧板上设有小挂钩,两个顶板分别铰接在侧板上。通过将安装大挂钩的支撑架安装在气体阻尼器上,并且连接架与距离传感器连接,进而在称重时物品对气体阻尼器施加压力,由于气体阻尼器内部的气压一定所以不会因为长期使用导致发生偏移,进而保证了秤物的精准度,通过支撑架两侧铰接的侧板在对较长物品进行称取时能够沿着支撑架展开,进而能够挂住物品。


