授权公布号:CN104146686B
可拆卸且带有数字显示的医用压板
有效
申请
2014-09-01
申请公布
2014-11-19
授权
2015-12-23
预估到期
2034-09-01
| 申请号 | CN201410439420.X |
| 申请日 | 2014-09-01 |
| 申请公布号 | CN104146686A |
| 申请公布日 | 2014-11-19 |
| 授权公布号 | CN104146686B |
| 授权公告日 | 2015-12-23 |
| 分类号 | A61B5/00 |
| 分类 | 医学或兽医学;卫生学; |
| 申请人名称 | 江苏雷奥生物科技有限公司 |
| 申请人地址 | 江苏省徐州市高新区第二工业园银山路16号 |
专利法律状态
2015-12-23
授权
状态信息
授权
2014-12-17
实质审查的生效
状态信息
实质审查的生效IPC(主分类):A61B 5/00申请日:20140901
2014-11-19
公布
状态信息
公开
摘要
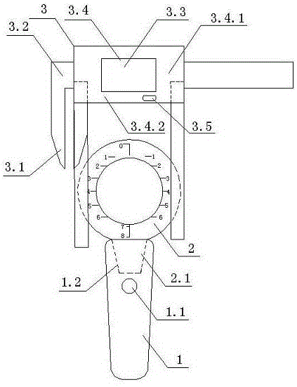
一种可拆卸且带有数字显示的医用压板,它包括手柄(1)、观察窗(2)和数显模块(3),其特征是所述的手柄(1)上设有定位孔(1.1)和凹槽(1.2),观察窗(2)设有刻度线且带有与凹槽(1.2)相匹配的凸块(2.1)以便于观察窗的快速更换;数显模块(3)与观察窗(2)为可拆卸式连接。本发明结构简单,使用方便,能提高妇科检查效率和准确率,为疾病的诊断提供了理想的辅助工具。


