授权公布号:CN110409973B
一种防止火势蔓延的灭火型消防门
有效
申请
2019-08-09
申请公布
2019-11-05
授权
2020-07-24
预估到期
2039-08-09
| 申请号 | CN201910733908.6 |
| 申请日 | 2019-08-09 |
| 申请公布号 | CN110409973A |
| 申请公布日 | 2019-11-05 |
| 授权公布号 | CN110409973B |
| 授权公告日 | 2020-07-24 |
| 分类号 | E06B5/16;E06B3/46;E06B7/28;E05F11/54;A62C31/00;A62C37/11;A62C2/22 |
| 分类 | 一般门、窗、百叶窗或卷辊遮帘;梯子; |
| 申请人名称 | 北京玛钢炜业消防科技有限公司 |
| 申请人地址 | 河北省唐山市汉沽管理区临津产业园 |
专利法律状态
2020-07-24
授权
状态信息
授权
2020-07-21
专利申请权、专利权的转移
状态信息
专利申请权的转移 IPC(主分类):E06B5/16 登记生效日:20200630 变更前申请人:象山锐文智能装备有限公司 变更前地址:315000 浙江省宁波市象山县定塘镇宁波站村171号201 变更后申请人:北京玛钢炜业消防科技有限公司 变更后地址:063000 河北省唐山市汉沽管理区临津产业园
2019-12-03
实质审查的生效
状态信息
实质审查的生效IPC(主分类):E06B 5/16
2019-11-05
公布
状态信息
公开
摘要
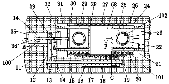
本发明公开的一种防止火势蔓延的灭火型消防门,包括墙体,所述墙体内前后贯通的设有消防通道,所述消防通道前侧为消防通道,所述消防通道后侧为房间,所述消防通道左右两侧内壁内对称设有导滑腔,所述导滑腔相连通于所述消防通道,所述导滑腔与所述消防通道之间可滑动的设有门板,本发明需要手动操作才能完全的将消防门关闭,避免有人被困于火场中无法及时逃脱,并且在火势蔓延到消防门处时,自动的对消防门周围进行灭火,保障消防通道不被火势蔓延,给火警延长了救援时间。


