授权公布号:CN215548071U
一种可自动夹紧的手机夹结构
有效
申请
2021-06-25
申请公布
1970-01-01
授权
2022-01-18
预估到期
2031-06-25
| 申请号 | CN202121434582.6 |
| 申请日 | 2021-06-25 |
| 授权公布号 | CN215548071U |
| 授权公告日 | 2022-01-18 |
| 分类号 | B25B11/00 |
| 分类 | 手动工具;轻便机动工具;手动器械的手柄;车间设备;机械手; |
| 申请人名称 | 广东百诺影像科技工业有限公司 |
| 申请人地址 | 广东省中山市坦洲镇新前进村火炬高科技术工业园05--A |
专利法律状态
2022-01-18
授权
状态信息
授权
摘要
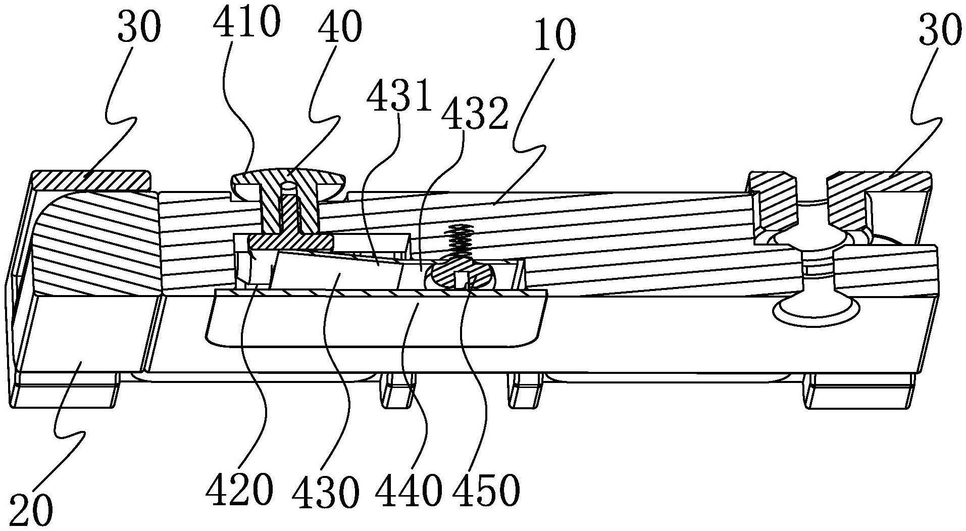
本实用新型公开一种可自动夹紧的手机夹结构,包括有支架本体,在所述支架本体的前侧设有移动块,所述移动块与所述支架本体上互相连接有导向组件,在所述支架本体上还设有用于锁定所述移动块位置的锁定装置;在所述移动块上以及所述支架本体的后侧上设有用于夹持手机的挡块,所述导向组件包括左右对称设置在所述支架本体的导向孔,所述导向孔向前侧贯穿所述支架本体,在所述导向孔内活动插接有导向杆,所述导向杆的前端与所述移动块固定连接,在所述导向杆的后部设有限位板,在所述限位板前侧的导向杆上套设有复位弹簧,所述复位弹簧前侧与所述支架本体固定连接,本实用新型具有结构简单合理、夹紧方便、省时省力的优点。


