授权公布号:CN213698061U
杀菌消毒装置
有效
申请
2020-08-03
申请公布
1970-01-01
授权
2021-07-16
预估到期
2030-08-03
| 申请号 | CN202021586023.2 |
| 申请日 | 2020-08-03 |
| 授权公布号 | CN213698061U |
| 授权公告日 | 2021-07-16 |
| 分类号 | A61L2/10;A61L2/24;A61L2/26 |
| 分类 | 医学或兽医学;卫生学; |
| 申请人名称 | 广州市威士丹利智能科技有限公司 |
| 申请人地址 | 广东省广州市黄埔区科学大道18号A栋801房,A栋802房 |
专利法律状态
2021-07-16
授权
状态信息
授权
摘要
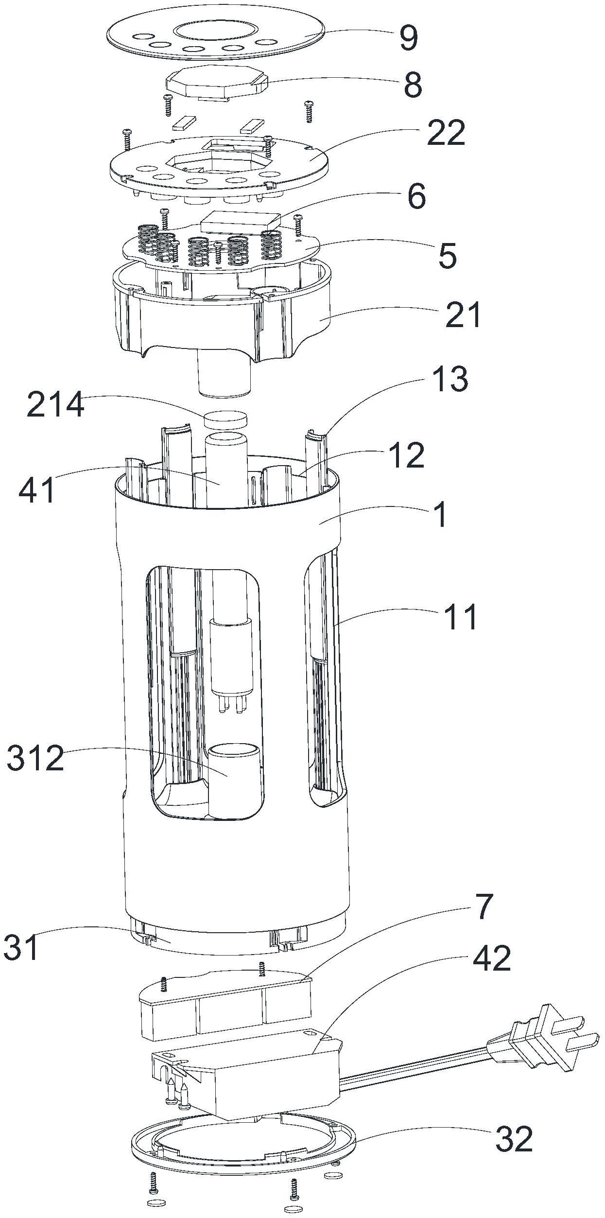
本实用新型公开了一种杀菌消毒装置,包括筒状主体、设于所述筒状主体上端口的顶盖组件、设于所述筒状主体下端的底盖组件,以及紫外线灯组件;所述杀菌消毒装置还包括均设于所述顶盖组件内的控制板和感应雷达,以及设于所述底盖组件内的电源板,所述感应雷达和所述电源板均与所述控制板电连接;所述紫外线灯组件包括紫外线灯和镇流器,所述紫外线灯设于所述筒状主体内,所述筒状主体侧壁上开设有通光口,所述镇流器设于所述底盖组件内,所述紫外线灯和所述镇流器均与所述电源板电连接。在本实用新型中,所述杀菌消毒装置能避免紫外线灯照射到人体,并对人体造成伤害。


