授权公布号:CN213834649U
一种智能富氢水杯
有效
申请
2020-08-24
申请公布
1970-01-01
授权
2021-07-30
预估到期
2030-08-24
| 申请号 | CN202021789905.9 |
| 申请日 | 2020-08-24 |
| 授权公布号 | CN213834649U |
| 授权公告日 | 2021-07-30 |
| 分类号 | C02F1/461;C02F1/68;A47G19/22 |
| 分类 | 水、废水、污水或污泥的处理; |
| 申请人名称 | 广州市威士丹利智能科技有限公司 |
| 申请人地址 | 广东省广州市黄埔区科学大道18号A栋801房,A栋802房 |
专利法律状态
2021-07-30
授权
状态信息
授权
摘要
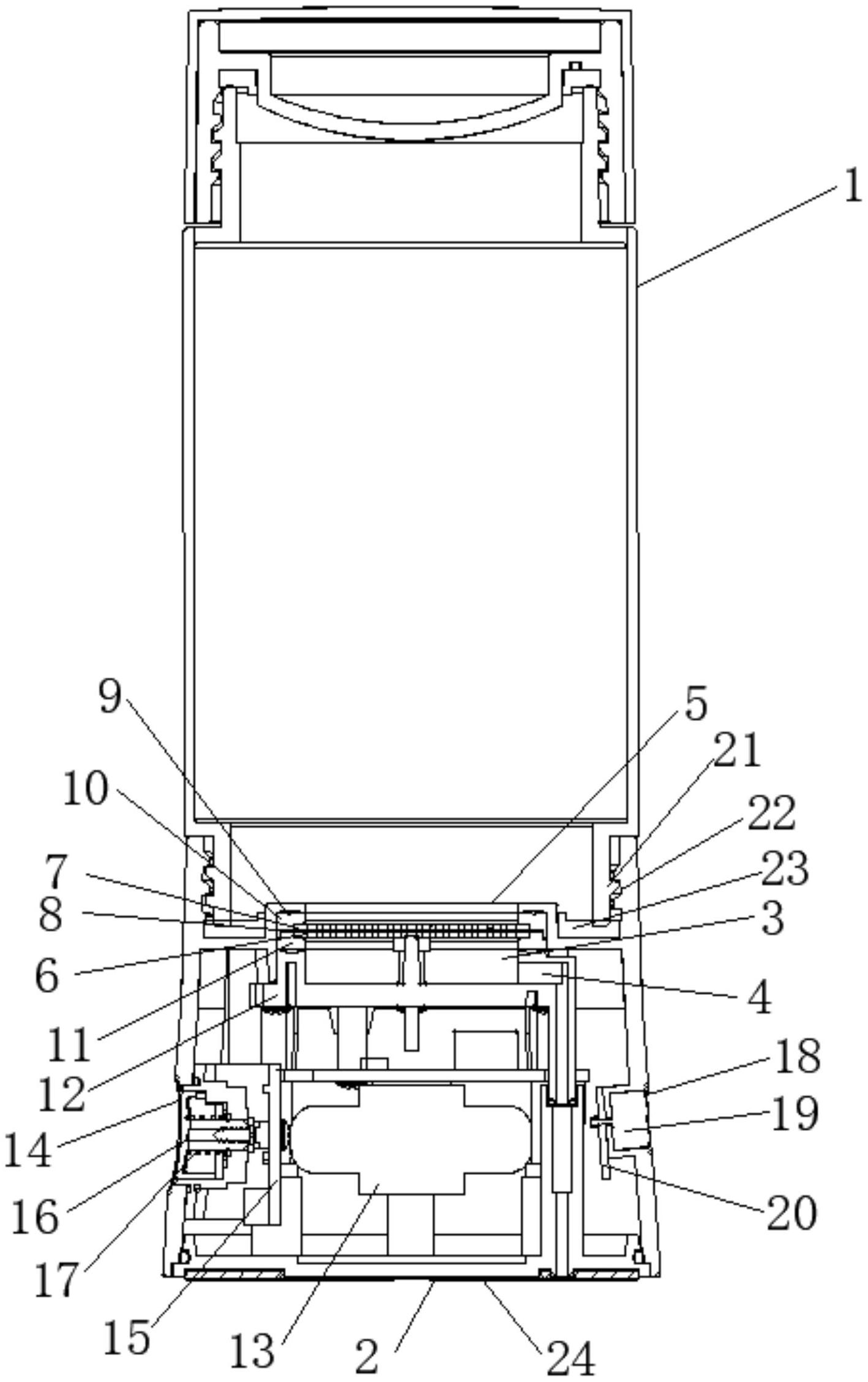
本实用新型公开了一种智能富氢水杯。本实用新型的智能富氢水杯,包括杯体,所述杯体底部设置有底座,所述杯体下部或者所述底座内设置有电解腔,所述电解腔与所述杯体内部连通,所述电解腔具有氧气排气口;所述电解腔内设置有电解装置,所述电解装置包括阳极电极片、阴极电极片、离子膜和防水套件,所述离子膜位于所述阳极电极片和所述阴极电极片之间,所述防水套件将所述阳极电极片、所述阴极电极片、所述离子膜夹紧。本实用新型的智能富氢水杯,能够避免电解装置中阴极电极片和阳极电极片间漏水,使电解装置能够长期且有效地产生氢气,从而使杯体的水成为富含氢气的水,提高使用者的饮水质量,增强使用者的体质。


