授权公布号:CN209194808U
一种短槽式可拆卸式环保板材
有效
申请
2018-11-22
申请公布
1970-01-01
授权
2019-08-02
预估到期
2028-11-22
| 申请号 | CN201822015556.4 |
| 申请日 | 2018-11-22 |
| 授权公布号 | CN209194808U |
| 授权公告日 | 2019-08-02 |
| 分类号 | E04B2/90;E04B2/96 |
| 分类 | 建筑物; |
| 申请人名称 | 山东福茂装饰材料有限公司 |
| 申请人地址 | 山东省临沂市兰山义堂镇太和庄村 |
专利法律状态
2019-08-02
授权
状态信息
授权
摘要
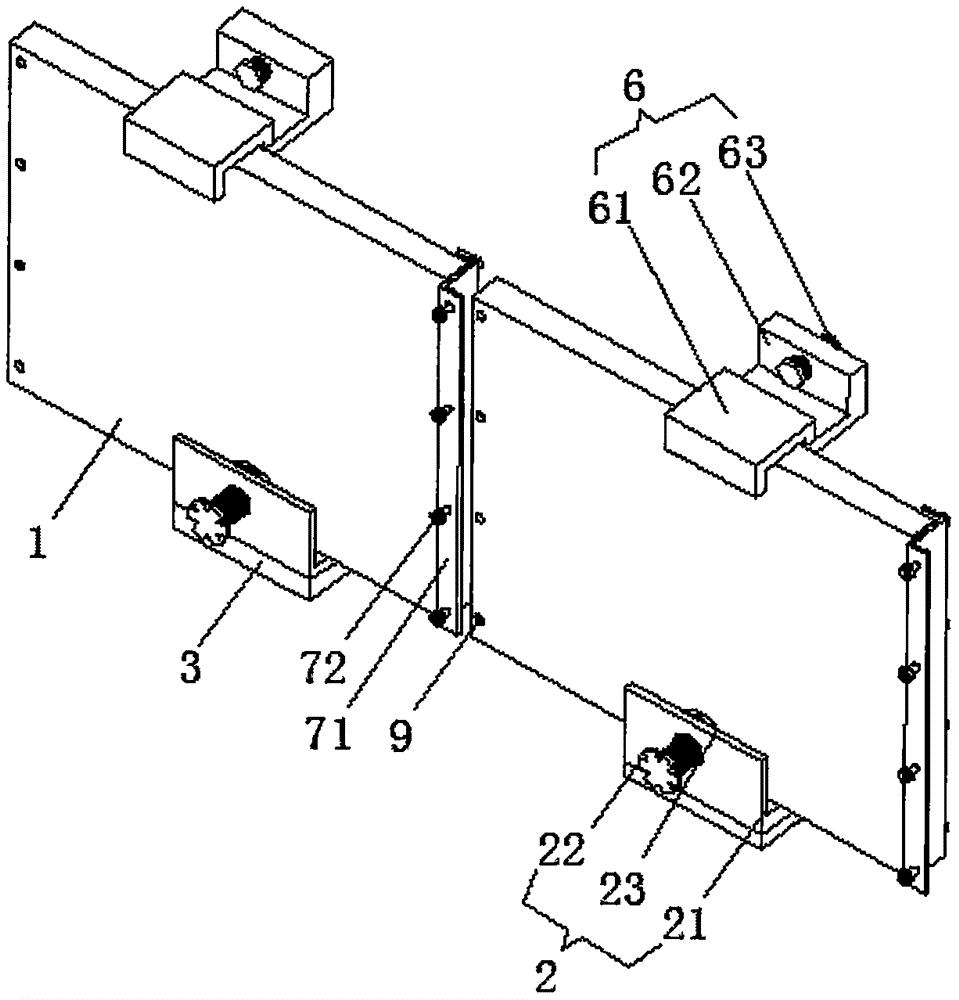
本实用新型公开了一种短槽式可拆卸式环保板材,包括复合板材,复合板材的底端设有固定结构,固定结构中U形槽板的底端与底板的前端上表面固定连接,底板的后侧设有侧板,侧板的表面螺纹孔内设有固定螺栓,复合板材的上端设有限位结构,复合板材的右侧设有连接结构,复合板材的左侧设有自上而下均匀设有固定螺纹孔,底板的底面设有均匀分布的加强筋,加强筋的后端与侧板的前侧面固定连接,该短槽式可拆卸式环保板材,结构简单,安装拆卸方便,固定牢靠,而且集装饰、保温和消音为一体,起到了墙体防水、隔热保温、隔音效果的作用,绿色环保,可加工性能好,产品可重复使用,减少了建筑垃圾。


