授权公布号:CN218932537U
一种衣袋缝制工具
有效
申请
2022-11-02
申请公布
1970-01-01
授权
2023-04-28
预估到期
2032-11-02
| 申请号 | CN202222910040.2 |
| 申请日 | 2022-11-02 |
| 授权公布号 | CN218932537U |
| 授权公告日 | 2023-04-28 |
| 分类号 | D05B35/06 |
| 分类 | 缝纫;绣花;簇绒; |
| 申请人名称 | 宁波申洲针织有限公司 |
| 申请人地址 | 浙江省宁波市北仑区新碶甬江路18号 |
专利法律状态
2023-04-28
授权
状态信息
授权
摘要
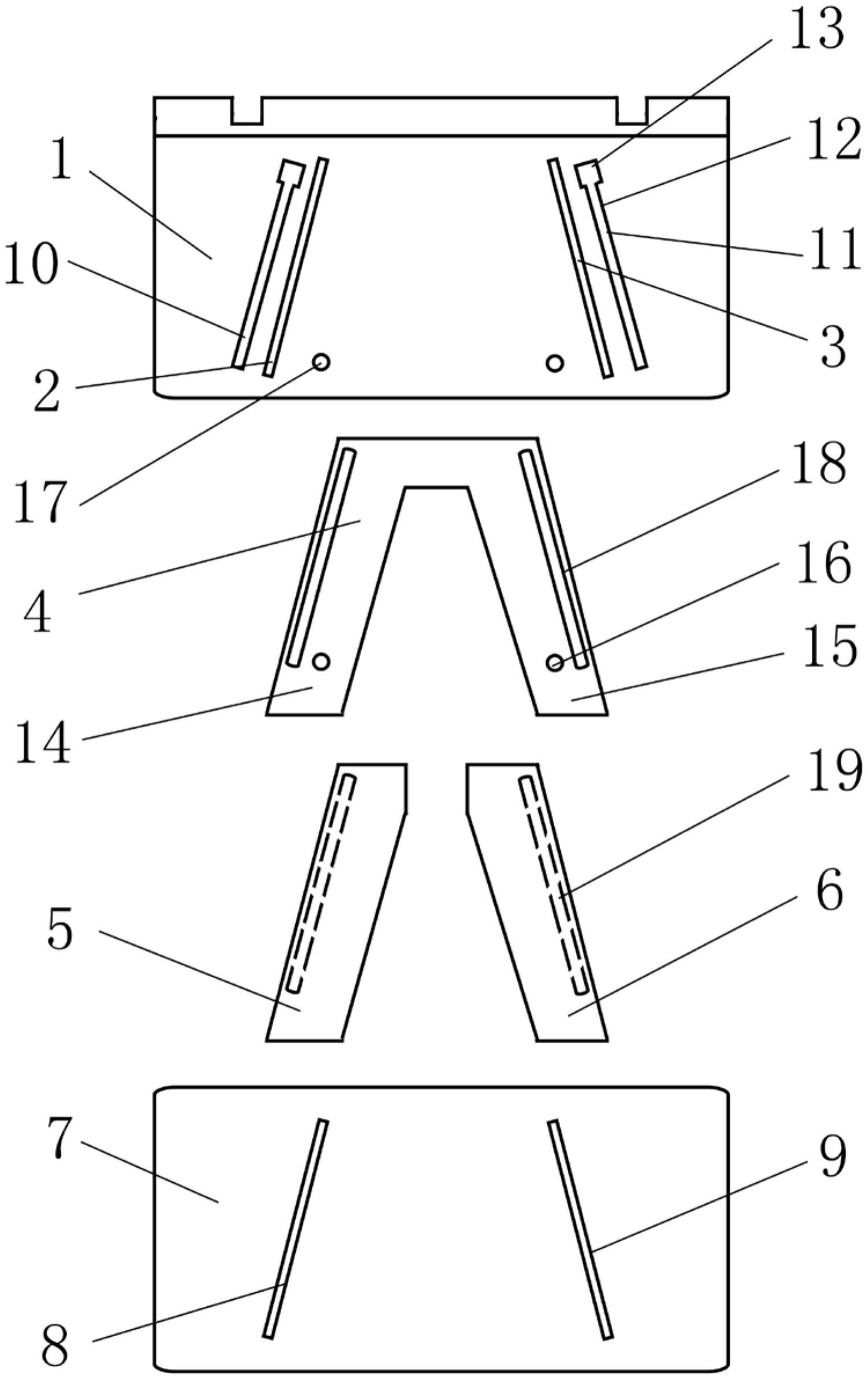
本实用新型公开了一种衣袋缝制工具,包括:底板,底板开设有第一缝纫缝和第二缝纫缝;压板,所述压板可转动地盖设于所述底板的上表面;第一限位板,所述第一限位板可转动地盖设于所述压板的上表面的一侧;第二限位板;所述第二限位板可转动地盖设于所述压板的上表面的另一侧;盖板,所述盖板可操作地盖设于所述第一限位板的上表面和所述第二限位板的上表面,所述盖板开设有第三缝纫缝和第四缝纫缝。通过对本实用新型的应用,提供了一种适用于对衣袋进行快速缝制的缝制工具,进一步提高了衣袋与相应拉链的缝制质量,从而使得最终的产品质量得到了保障;本实用新型结构简单,使用方便,减少了操作人员的工作量。


