授权公布号:CN110269299B
一种口袋盖烫衬拷钮落料一体机
有效
申请
2019-07-04
申请公布
2019-09-24
授权
2024-03-19
预估到期
2039-07-04
| 申请号 | CN201910600666.3 |
| 申请日 | 2019-07-04 |
| 申请公布号 | CN110269299A |
| 申请公布日 | 2019-09-24 |
| 授权公布号 | CN110269299B |
| 授权公告日 | 2024-03-19 |
| 分类号 | A41D27/20;A41H37/00;D06H7/00;D06C15/00;B65G47/82;B65G65/32 |
| 分类 | 服装; |
| 申请人名称 | 宁波申洲针织有限公司 |
| 申请人地址 | 浙江省宁波市北仑区新碶甬江路18号 |
专利法律状态
2024-03-19
授权
状态信息
授权
2019-10-22
实质审查的生效
状态信息
实质审查的生效;IPC(主分类):A41D27/20;申请日:20190704
2019-09-24
公布
状态信息
公布
摘要
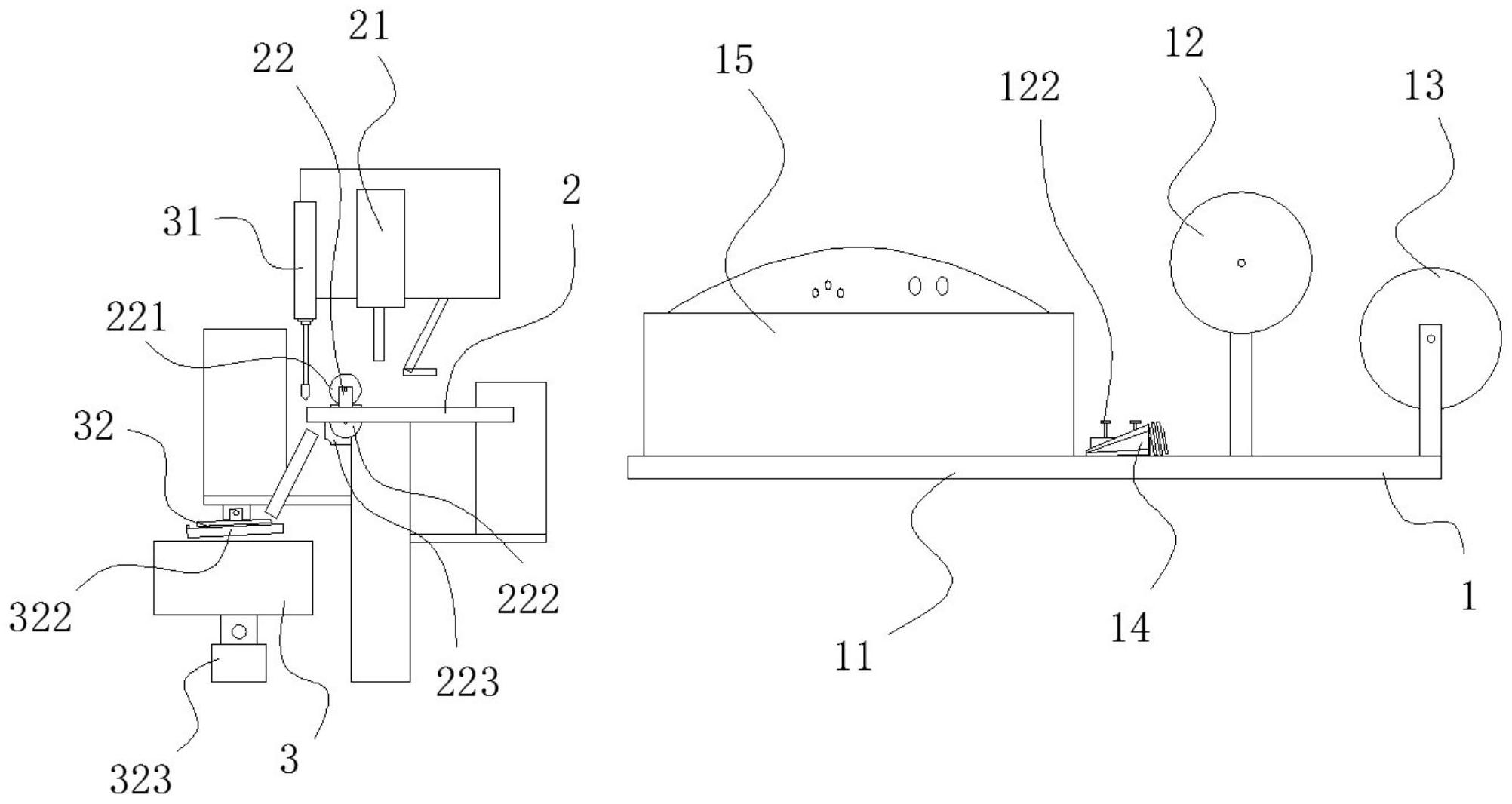
本发明提供了一种口袋盖烫衬拷钮落料一体机,属于服装制造的技术领域。一种口袋盖烫衬拷钮落料一体机包括沿一方向依次布置的烫衬机构、拷钮机构以及落料机构;本发明通过烫衬机构的口袋盖面料固定结构、衬料固定结构、对折结构以及烫衬机实现将口袋盖面料与衬料的自动烫衬并对折,通过铐纽机构的自动拷钮机和运料结构对烫衬且对折后的口袋盖面料进行自动拷钮操作,通过落料机构的切断结构和收料结构对拷钮后的口袋盖面料切断至需求长度并自动收集,实现了口袋盖烫衬、拷钮以及落料的一次成型,自动化程度高,制造效率更高,避免了人工操作带来的人力浪费和产品存在差异性的问题,制造成本更低,产品的统一性更高,更满足企业流水线式的生产需求。


