授权公布号:CN205092914U
一种镜面液晶电视机
有效
申请
2015-09-30
申请公布
1970-01-01
授权
2016-03-16
预估到期
2025-09-30
| 申请号 | CN201520765681.0 |
| 申请日 | 2015-09-30 |
| 授权公布号 | CN205092914U |
| 授权公告日 | 2016-03-16 |
| 分类号 | H04N5/64 |
| 分类 | 电通信技术; |
| 申请人名称 | 上海旷世电子科技有限公司 |
| 申请人地址 | 上海市奉贤区金汇镇联欢村242号 |
专利法律状态
2016-03-16
授权
状态信息
授权
摘要
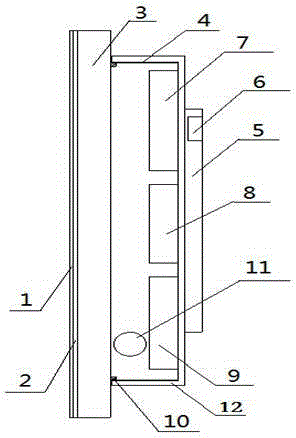
本实用新型公开了一种镜面液晶电视机,包括安装支架、液晶显示器、扬声器,液晶显示器包括机外壳、液晶屏、机芯板、屏幕驱动电路板、音响电路板,液晶屏正面设有透光的电镀玻璃,电镀玻璃背面贴设有防暴膜,机芯板、屏幕驱动电路板、音响电路板安装在机外壳内,机外壳通过安装支架安装在墙面,机芯板、屏幕驱动电路板、音响电路板、液晶屏之间相互通过电连接。该液晶电视机在不通电时,可以作为镜子使用,通电后可接收电视信号作为电视机,也可连接投影仪、电脑等设备显示画面,电视机和镜子共存于一个安装空间,节省了安装空间。


