授权公布号:CN218914326U
安装基座及摄像头
有效
申请
2022-11-29
申请公布
1970-01-01
授权
2023-04-25
预估到期
2032-11-29
| 申请号 | CN202223197108.3 |
| 申请日 | 2022-11-29 |
| 授权公布号 | CN218914326U |
| 授权公告日 | 2023-04-25 |
| 分类号 | F16M11/04;F16M11/14;F16M13/02;H04N23/50;H04N23/695 |
| 分类 | 工程元件或部件;为产生和保持机器或设备的有效运行的一般措施;一般绝热; |
| 申请人名称 | 上海创米数联智能科技发展股份有限公司 |
| 申请人地址 | 上海市闵行区紫星路588号1幢11层001A室 |
专利法律状态
2023-04-25
授权
状态信息
授权
摘要
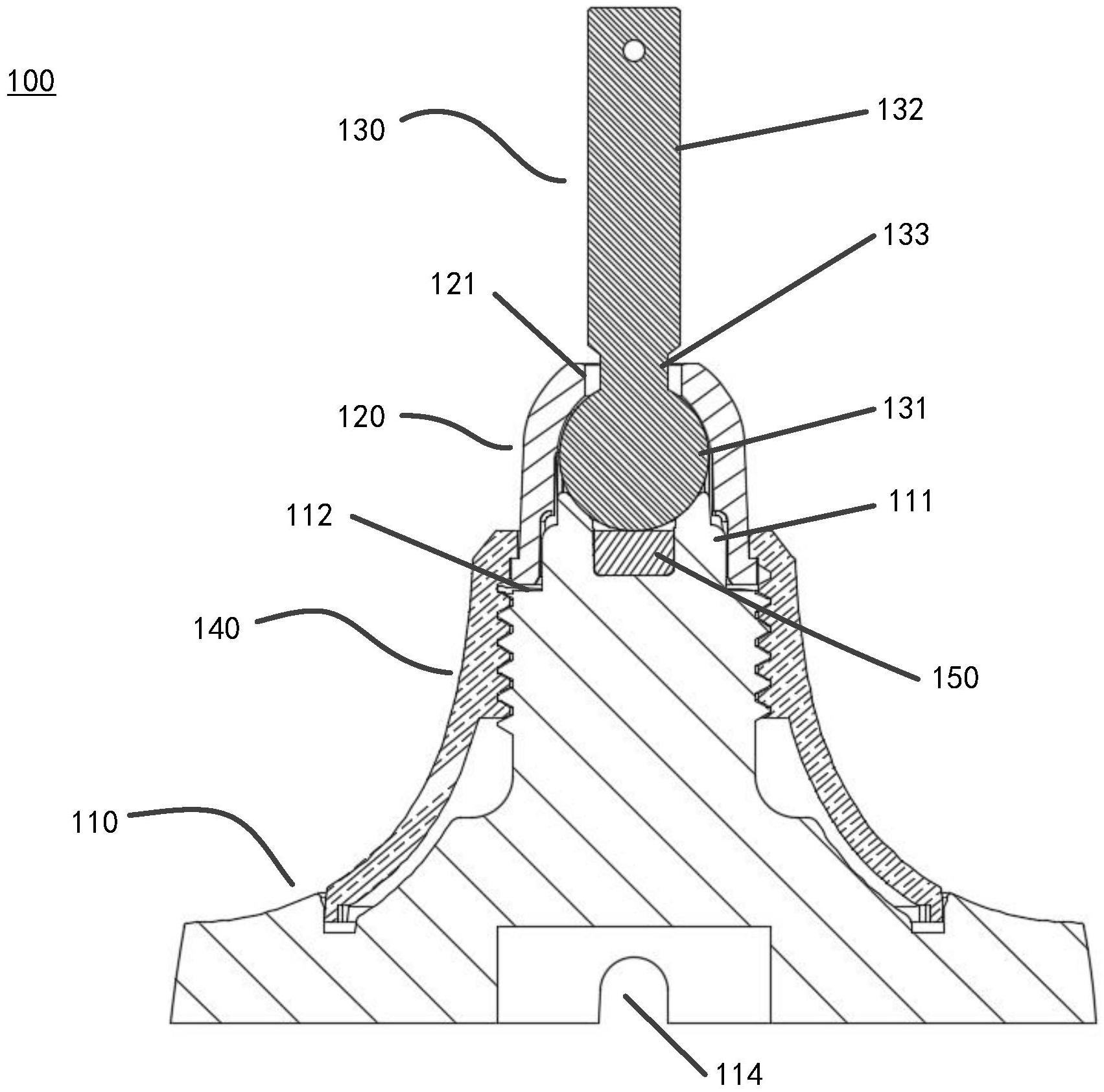
本实用新型提供一种安装基座及摄像头,其中安装基座包括底座、压盖和连接轴,底座设置于安装面上,底座包括远离所述安装面的配合部。压盖扣设于配合部上,并与配合部限定一容腔,所述压盖上开设有轴过孔,所述容腔由所述轴过孔与外界连通。连接轴包括配合面和连杆,其中配合面由压盖限制于容腔内,连杆与配合面固定连接,由轴过孔处延伸至容腔外侧。配合面能够在容腔内运动,以改变连杆的延伸方向,并且压盖配置为能够相对于配合部运动,以改变容腔的大小。本实用新型的实施例利用压盖将连接轴限定在容腔内,调节连接轴以改变方向,并且压盖能够控制容腔的大小,当电子产品调整至合适位姿后,通过缩小容腔内的空间即可将连接轴的位置锁定。


