授权公布号:CN217831025U
一种用于钢质防盗门加工的门窗清洗装置
有效
申请
2022-06-13
申请公布
1970-01-01
授权
2022-11-18
预估到期
2032-06-13
| 申请号 | CN202221487781.8 |
| 申请日 | 2022-06-13 |
| 授权公布号 | CN217831025U |
| 授权公告日 | 2022-11-18 |
| 分类号 | B08B3/10;B08B13/00 |
| 分类 | 清洁; |
| 申请人名称 | 浙江亿家实业有限公司 |
| 申请人地址 | 浙江省丽水市缙云县新碧街道碧溪路2号 |
专利法律状态
2022-11-18
授权
状态信息
授权
摘要
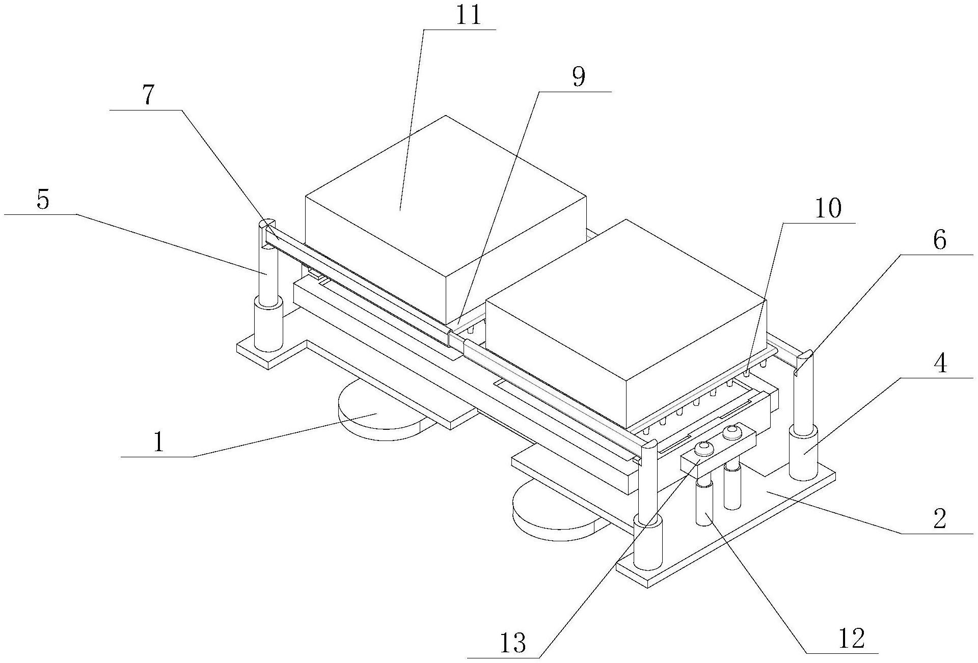
本实用新型涉及钢质防盗门加工技术领域,公开了一种用于钢质防盗门加工的门窗清洗装置,包括H型板以及设置在所述H型板顶表面的设置伸缩机构,所述伸缩机构上安装有伸降喷淋机构,所述伸降喷淋机构上安装有两个水箱,所述伸缩机构上安装有两个翻转机构,且两个所述翻转机构均临近所述伸缩机构的两侧。这样通过翻转机构的设置,大大提高了防盗门的翻转效率,同时提高了防盗门的清洗效果。


