授权公布号:CN212031947U
一种语音智能家电控制设备
有效
申请
2020-06-08
申请公布
1970-01-01
授权
2020-11-27
预估到期
2030-06-08
| 申请号 | CN202021027609.5 |
| 申请日 | 2020-06-08 |
| 授权公布号 | CN212031947U |
| 授权公告日 | 2020-11-27 |
| 分类号 | G05B15/02;G05B19/418 |
| 分类 | 控制;调节; |
| 申请人名称 | 深圳市右转智能科技有限责任公司 |
| 申请人地址 | 广东省深圳市龙岗区南湾街道下李朗社区白李路26号旗丰数字科技园F栋三楼 |
专利法律状态
2020-11-27
授权
状态信息
授权
摘要
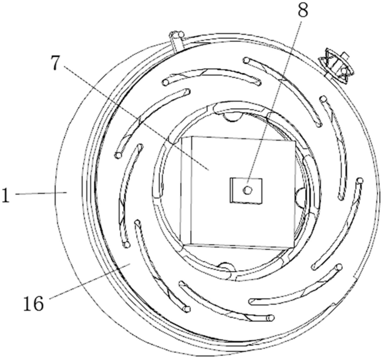
本实用新型公开了一种语音智能家电控制设备,涉及智能家居技术领域。本实用新型包括外壳和容纳箱,外壳内部与容纳箱固定连接,容纳箱内部开设有收纳槽,收纳槽内表面滑动连接有伸缩平台,伸缩平台表面固定连接有双面泡棉胶,伸缩平台表面通过双面泡棉胶固定连接有物联网关,物联网关表面固定连接有语音识别装置,伸缩平台远离双面泡棉胶侧壁轴心处固定连接有螺杆,螺杆周侧面螺纹连接有驱动环。本实用新型通过保护叶片的旋转结构,在配合伸缩平台的滑动结构,在物联网关与语音识别装置不使用时充分保护起来,避免其受到破坏,提高了智能家电控制设备的稳定性与安全性,同时也可以防止物联网关和语音识别装置表面积灰。


