授权公布号:CN212034292U
一种无线传输音频音乐播放设备
有效
申请
2020-06-08
申请公布
1970-01-01
授权
2020-11-27
预估到期
2030-06-08
| 申请号 | CN202021027702.6 |
| 申请日 | 2020-06-08 |
| 授权公布号 | CN212034292U |
| 授权公告日 | 2020-11-27 |
| 分类号 | H04R1/02;H04R1/22 |
| 分类 | 电通信技术; |
| 申请人名称 | 深圳市右转智能科技有限责任公司 |
| 申请人地址 | 广东省深圳市龙岗区南湾街道下李朗社区白李路26号旗丰数字科技园F栋三楼 |
专利法律状态
2020-11-27
授权
状态信息
授权
摘要
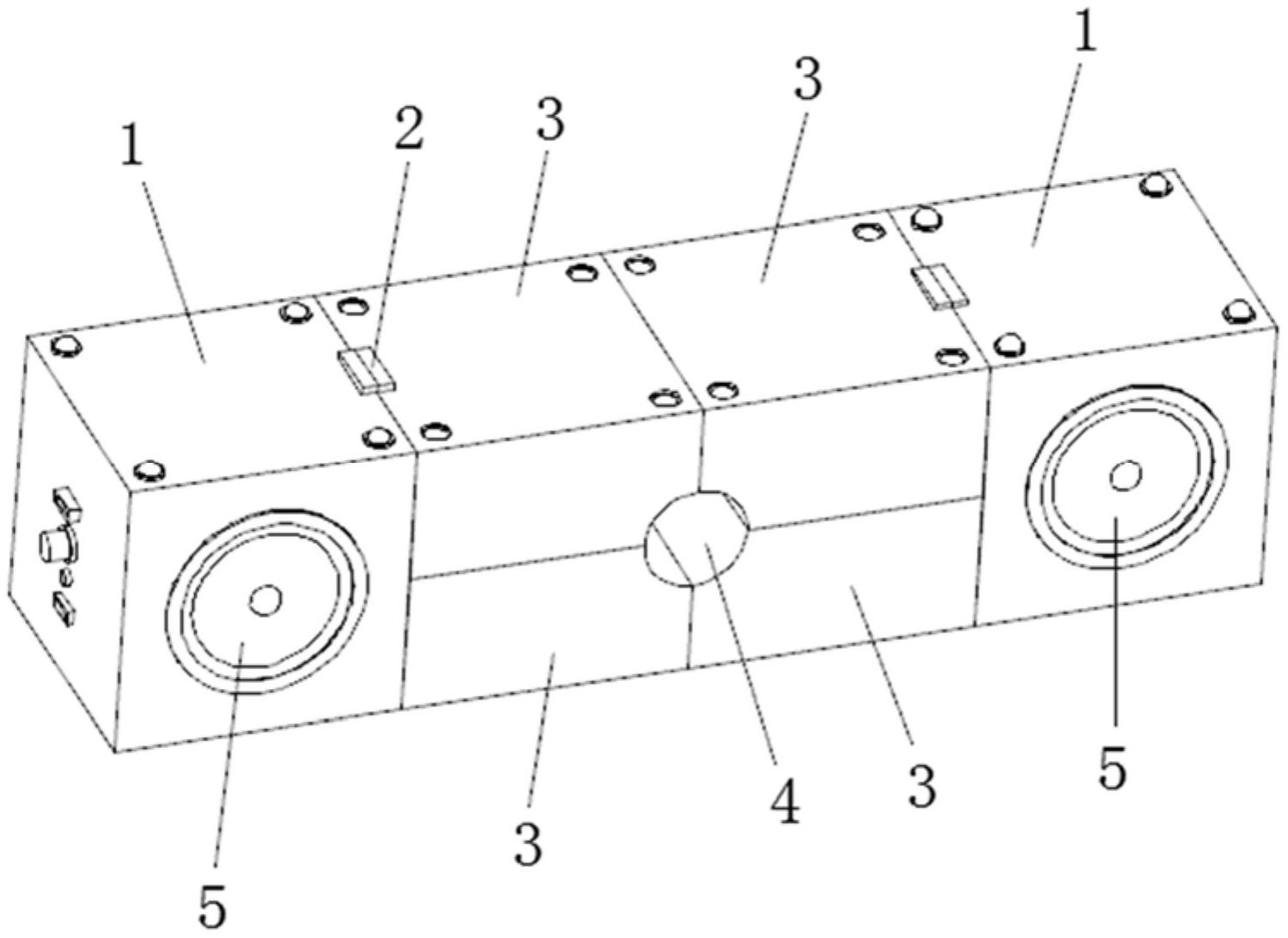
本实用新型公开了一种无线传输音频音乐播放设备,涉及音乐播放设备技术领域。本实用新型包括两个音箱外壳,音箱外壳顶部与底部一侧均通过合页转动连接有拼接外壳,拼接外壳远离音箱外壳侧壁固定连接有弧形片,音箱外壳侧壁固定连接有第一扬声器,音箱外壳远离拼接外壳侧壁由上至下分别固定连接有TF卡槽、音量旋钮、AUX接口和USB接口,音箱外壳顶面与底面四个边角处均固定连接有缓冲片,缓冲片远离音箱外壳表面固定连接有电磁铁,音箱外壳靠近拼接外壳侧壁固定连接有第二扬声器。本实用新型通过将四个拼接外壳进行组合,拼接成一个完整的倒相孔,同时扩大了音箱的体积,增强了低音表现,具有提高无线音箱声音质量的优点。


