授权公布号:CN210272109U
一种开关执行模块
有效
申请
2019-10-08
申请公布
1970-01-01
授权
2020-04-07
预估到期
2029-10-08
| 申请号 | CN201921668612.2 |
| 申请日 | 2019-10-08 |
| 授权公布号 | CN210272109U |
| 授权公告日 | 2020-04-07 |
| 分类号 | H01H3/32;H01H3/00 |
| 分类 | 基本电气元件; |
| 申请人名称 | 广州翊创智能科技有限公司 |
| 申请人地址 | 广东省广州市黄埔区茅岗路828号自编36号楼二层203、204、205、206房 |
专利法律状态
2020-04-07
授权
状态信息
授权
摘要
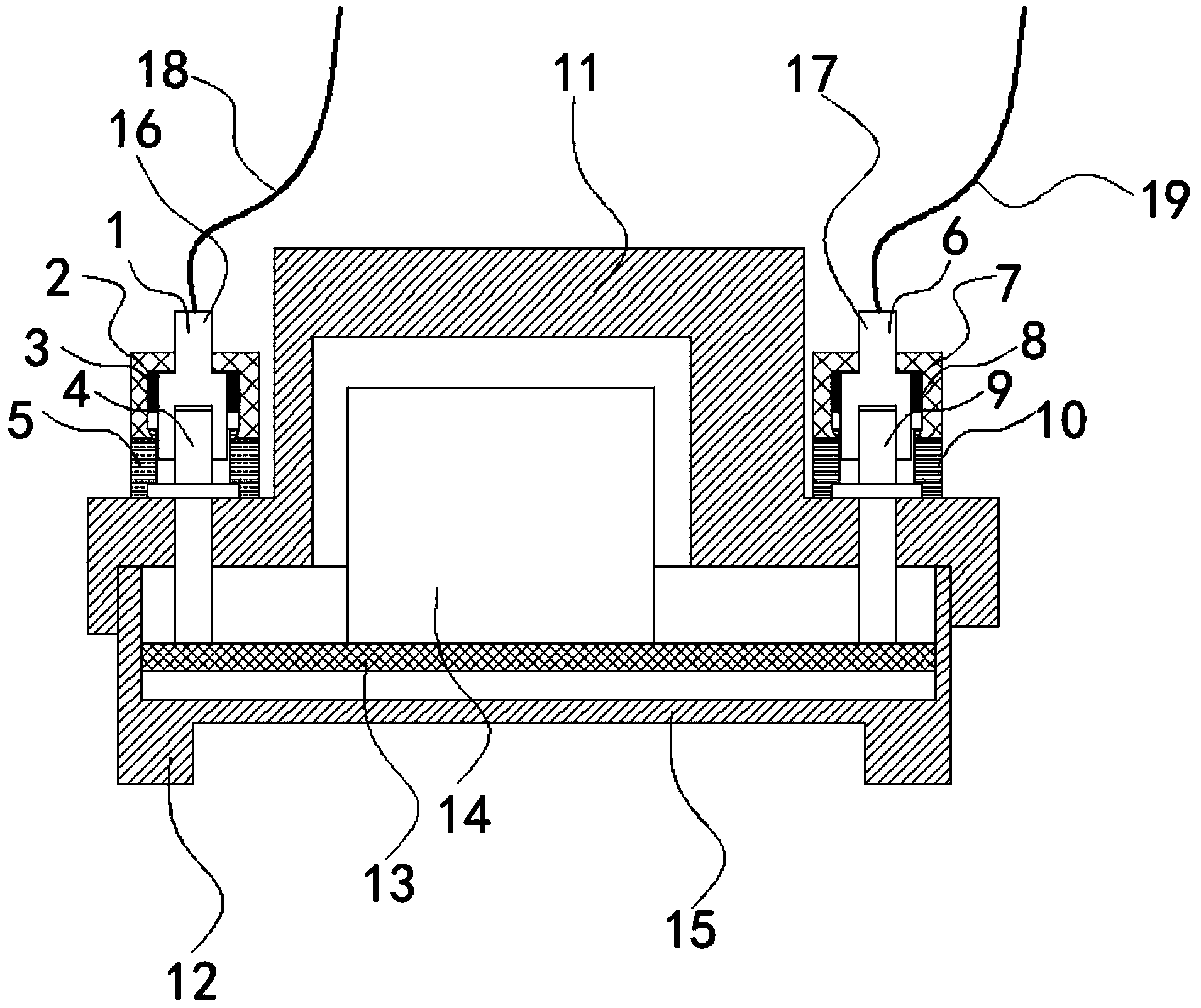
本实用新型公开了一种开关执行模块,包括壳体、PCB板、继电器模块、弱电通信端子、强电接线端子、弱电接头和强电接头,所述弱电接头包括第一插接座、信号线和第一保护套,所述信号线电连接所述第一插接座,由所述第一保护套和所述第一卡接座密封包裹所述弱电通信端子和所述第一插接座,所述强电接头包括第二插接座、电源线和第二保护套,所述电源线电连接所述第二插接座,由所述第二保护套和所述第二卡接座密封包裹所述强电接线端子和所述第二插接座,所述第一保护套和所述第二保护套为透明结构,所述第一保护套和所述第二保护套的内部均填充有无水硫酸铜。本技术方案用于降低现有开关执行模块存在外部电连接位置锈蚀的问题。


