授权公布号:CN213845178U
一种导轨式智能开关安装结构
有效
申请
2020-12-30
申请公布
1970-01-01
授权
2021-07-30
预估到期
2030-12-30
| 申请号 | CN202023340581.3 |
| 申请日 | 2020-12-30 |
| 授权公布号 | CN213845178U |
| 授权公告日 | 2021-07-30 |
| 分类号 | H01H71/02;H01H71/08 |
| 分类 | 基本电气元件; |
| 申请人名称 | 广州翊创智能科技有限公司 |
| 申请人地址 | 广东省广州市黄埔区茅岗路828号自编36号楼二层203、204、205、206房 |
专利法律状态
2021-07-30
授权
状态信息
授权
摘要
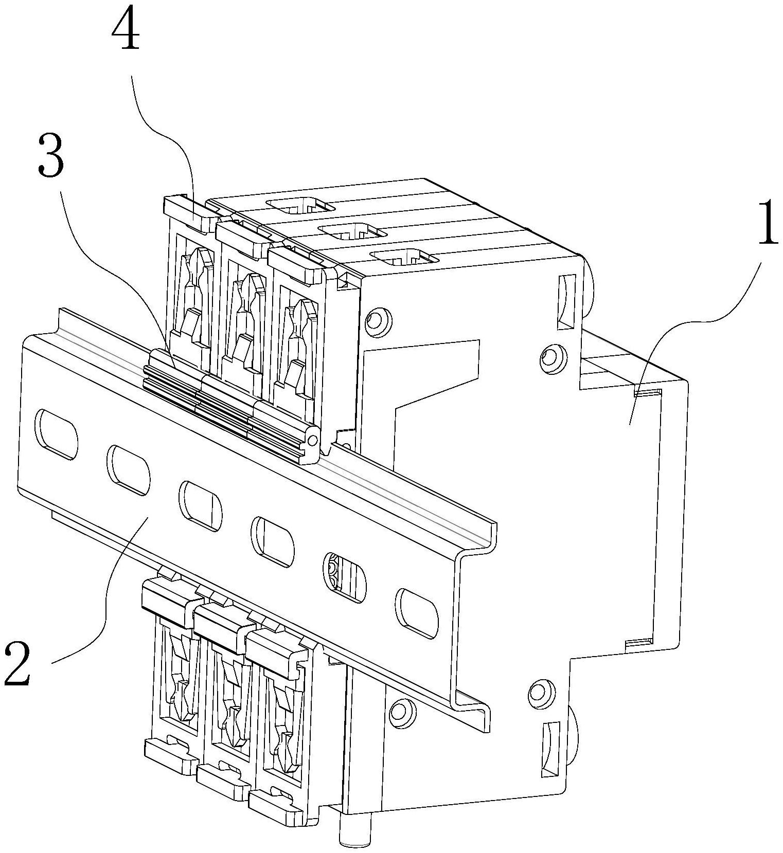
本实用新型涉及一种导轨式智能开关安装结构,包括开关本体和支撑导轨,至少一个所述开关本体安装于所述支撑导轨上,该结构还包括安装座、连接针排和夹扣,每一所述开关本体对应安装一个所述安装座,所述安装座和所述夹扣可拆卸安装在所述开关本体背面,通过所述安装座和所述夹扣可将所述开关本体安装到所述支撑导轨上;所述开关本体的背面设有与所述开关本体内部连通的触点,所述安装座内设有连接插排,将所述安装座安装到所述开关本体上后,所述开关本体上的所述触点与所述连接插排连通;通过将所述连接针排插接到相邻两个所述开关本体上的所述连接插排之间,可实现将相邻两个所述开关本体连接导通。解决现有的智能开关在连接时布线密集的问题。


