授权公布号:CN112713356B
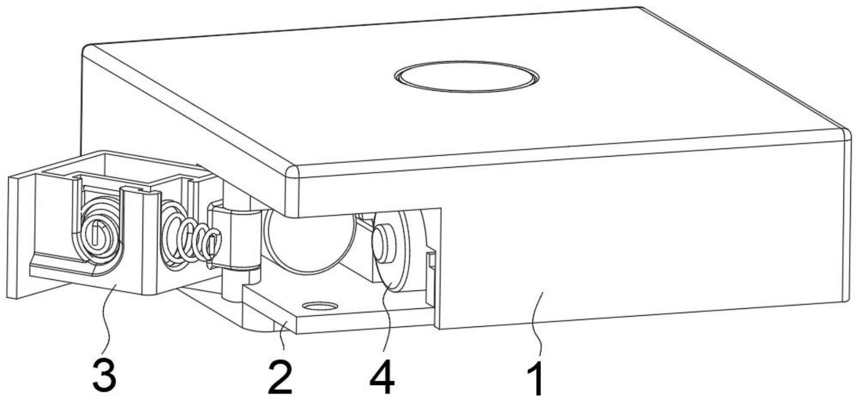
一种家用火灾报警系统外围设备的电池装卸结构
有效
申请
2020-12-22
申请公布
2021-04-27
授权
2022-08-12
预估到期
2040-12-22
| 申请号 | CN202011526213.X |
| 申请日 | 2020-12-22 |
| 申请公布号 | CN112713356A |
| 申请公布日 | 2021-04-27 |
| 授权公布号 | CN112713356B |
| 授权公告日 | 2022-08-12 |
| 分类号 | H01M50/244;H01M50/271;H01M50/262;H01M50/251;G08B17/00 |
| 分类 | 基本电气元件; |
| 申请人名称 | 尼特智能科技股份有限公司 |
| 申请人地址 | 河北省秦皇岛市海港区西港北路66号 |
专利法律状态
2022-08-12
授权
状态信息
授权
2021-04-27
公布
状态信息
公布
摘要
本发明提供一种家用火灾报警系统外围设备的电池装卸结构。所述家用火灾报警系统外围设备的电池装卸结构包括前壳组件和后壳组件,所述前壳组件盖合在后壳组件上,且前壳组件和后壳组件之间安装有电池盖组件。本发明提供的家用火灾报警系统外围设备的电池装卸结构具有实现电池内部安装,减少电池丢失的可能,且电池盖为翻盖结构,通过卡扣与壳体连接,使用简单工具就可以方便地进行开关的优点,而增设的电池锁结构使得电池的安装更加稳定,不易出现脱离槽装结构内,而槽装结构内未安装电池的情况下,能够及时被发现。


