授权公布号:CN218960501U
一种装配在导轨的卡脚机构
有效
申请
2022-12-12
申请公布
1970-01-01
授权
2023-05-05
预估到期
2032-12-12
| 申请号 | CN202223324020.3 |
| 申请日 | 2022-12-12 |
| 授权公布号 | CN218960501U |
| 授权公告日 | 2023-05-05 |
| 分类号 | A47H1/04 |
| 分类 | 家具;家庭用的物品或设备;咖啡磨;香料磨;一般吸尘器; |
| 申请人名称 | 尼特智能科技股份有限公司 |
| 申请人地址 | 河北省秦皇岛市海港区西港路66号 |
专利法律状态
2023-05-05
授权
状态信息
授权
摘要
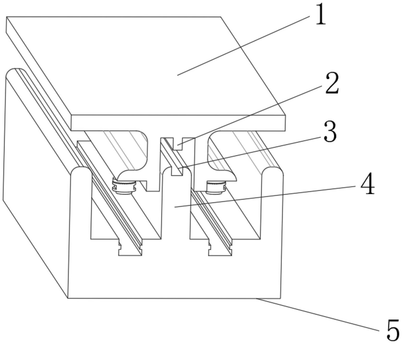
本实用新型公开了一种装配在导轨的卡脚机构,是一种采用卡脚机构技术的装备,包括顶板和底座,底座内部开设有底槽,底槽的侧缘上分别设置有第一导轨和第二导轨,顶板上设置有底板,底板上设有侧板,侧板朝向底槽的端面上设置有连接座,连接座对应的第一导轨和第二导轨上开设有第一导槽和第二导槽,第一导槽和第二导槽分别滑动连接在第一导轨和第二导轨上。本实用新型顶板通过侧板上的连接座连接在底座的底槽内,连接座上开设有第一导槽和第二导槽,第一导槽和第二导槽滑动连接在底槽的第一导轨和第二导轨上,通过设置连接座在移动时就可受到第一导轨和第二导轨的限位,从而就可对顶板进行限位,从而使顶板移动时更加的稳定。


