授权公布号:CN218653762U
一种冷冻式干燥机
有效
申请
2022-10-18
申请公布
1970-01-01
授权
2023-03-21
预估到期
2032-10-18
| 申请号 | CN202222733215.7 |
| 申请日 | 2022-10-18 |
| 授权公布号 | CN218653762U |
| 授权公告日 | 2023-03-21 |
| 分类号 | B01D53/26;B01D46/10;B01D46/88 |
| 分类 | 一般的物理或化学的方法或装置; |
| 申请人名称 | 上海格素实业有限公司 |
| 申请人地址 | 上海市金山区枫泾镇曹黎路38弄6号1014室 |
专利法律状态
2023-03-21
授权
状态信息
授权
摘要
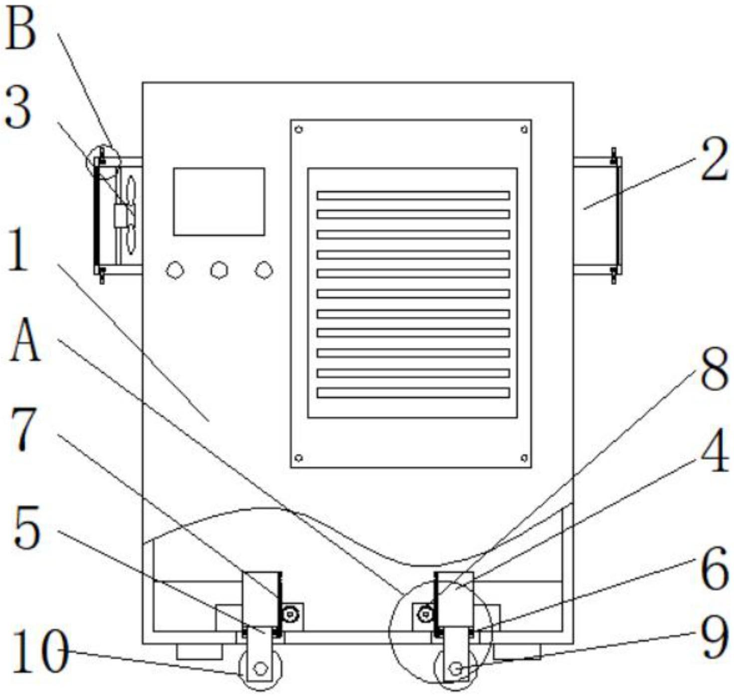
本实用新型公开了一种冷冻式干燥机,包括干燥机主体、散热口和散热风扇,所述干燥机主体上开设有散热口,所述散热口内部安装有散热风扇,所述干燥机主体底部设置有移动杆,所述移动杆上连接有连接杆,所述连接杆外侧连接有轴承,所述散热口外侧连接有连接板,且连接板上安装有过滤网,所述连接板上连接有第一限位杆。该冷冻式干燥机,设置有散热风扇,通过散热风扇可对该装置进行散热,通过过滤网可对外界灰尘进行过滤,当需要对其进行清理以及更换时,可通过拉动第二限位杆,使其解除对第一限位杆的限位,从而能够对连接板进行拆卸,使其能够对过滤网进行拆卸,使其方便进行清洗或者更换,从而方便进行使用。


