授权公布号:CN217107344U
一种具有支撑结构的气体压缩机
有效
申请
2021-12-27
申请公布
1970-01-01
授权
2022-08-02
预估到期
2031-12-27
| 申请号 | CN202123310042.X |
| 申请日 | 2021-12-27 |
| 授权公布号 | CN217107344U |
| 授权公告日 | 2022-08-02 |
| 分类号 | F04B35/06;F04B39/12;F04B39/06;F04B39/16 |
| 分类 | 液体变容式机械;液体泵或弹性流体泵; |
| 申请人名称 | 上海格素实业有限公司 |
| 申请人地址 | 上海市金山区枫泾镇曹黎路38弄6号1014室 |
专利法律状态
2022-08-02
授权
状态信息
授权
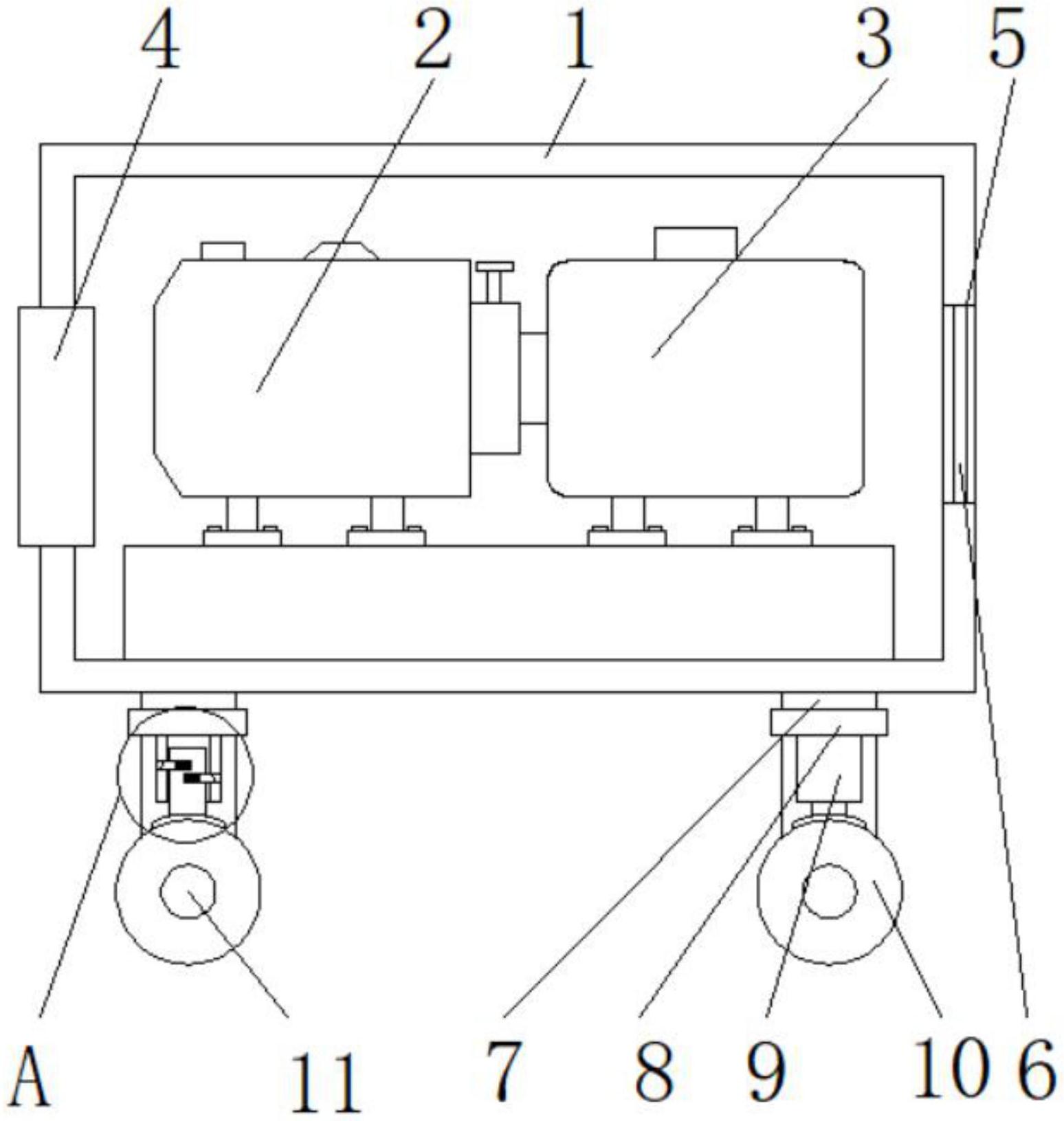
摘要
本实用新型公开了一种具有支撑结构的气体压缩机,包括保护外壳、压缩机主体、电机、风扇和过滤网,所述保护外壳内部设置有压缩机主体,所述保护外壳内部设置有电机,所述连接板外侧设置有第二连接杆,所述保护外壳下端设置有移动轮,所述第一连接杆上设置有转动轴,所述第一连接杆外侧设置有第三连接杆,所述第三连接杆内部设置有弹簧,且弹簧外侧设置有限位杆,所述第三连接杆下端设置有限位板。该具有支撑结构的气体压缩机,设置有风扇,通过风扇可对该装置进行散热,从而防止其温度过高影响工作效率,并且通过过滤网,可防止外界灰尘进入到装置内部,影响该装置使用。


