授权公布号:CN210563946U
一种平衡门自动复位拐臂装置
有效
申请
2019-05-27
申请公布
1970-01-01
授权
2020-05-19
预估到期
2029-05-27
| 申请号 | CN201920772592.7 |
| 申请日 | 2019-05-27 |
| 授权公布号 | CN210563946U |
| 授权公告日 | 2020-05-19 |
| 分类号 | E05D3/02;E05D7/00;E05D11/10;E06B3/50 |
| 分类 | 锁;钥匙;门窗零件;保险箱; |
| 申请人名称 | 中拓门业(天津)有限公司 |
| 申请人地址 | 天津市武清区大良镇隆良路10号 |
专利法律状态
2020-05-19
授权
状态信息
授权
摘要
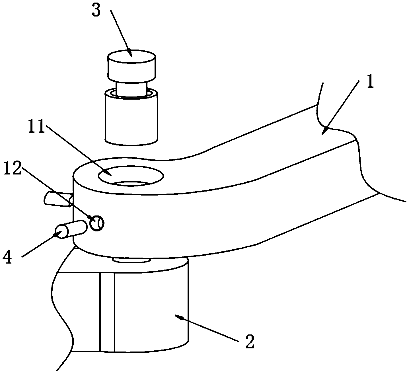
本实用新型属于平衡门技术领域,尤其为一种平衡门自动复位拐臂装置,包括转轴支臂和主轴座,所述主轴座位于所述转轴支臂的一端下方,所述转轴支臂的一端开设有转动孔,所述转轴支臂的另一端开设有安装孔,所述安装孔贯穿所述转轴支臂;通过利用风力产生的对于门的压力差,在门与门框间设置隐藏式滑动门轴平衡支臂,根据支点杠杆原理,可以借助风力产生的室内外压力差达到在风力较大的环境中以很小的力量开启门,关门时则凭借平衡门五金平顺的进行,利用风压的原理,正负风压下均能便捷开启,门扇开启及关闭时,门扇内外侧压力均能得到有效释放,借助风力开门,减少风压、门自重带来的阻力,风越大,开门力越小。


