授权公布号:CN217768115U
一种电磁流量计手动绕线圈
有效
申请
2022-06-09
申请公布
1970-01-01
授权
2022-11-08
预估到期
2032-06-09
| 申请号 | CN202221427955.1 |
| 申请日 | 2022-06-09 |
| 授权公布号 | CN217768115U |
| 授权公告日 | 2022-11-08 |
| 分类号 | H01F41/082 |
| 分类 | 基本电气元件; |
| 申请人名称 | 大连优科仪器仪表有限公司 |
| 申请人地址 | 辽宁省大连市甘井子区棠梨工业园东区3号 |
专利法律状态
2022-11-08
授权
状态信息
授权
摘要
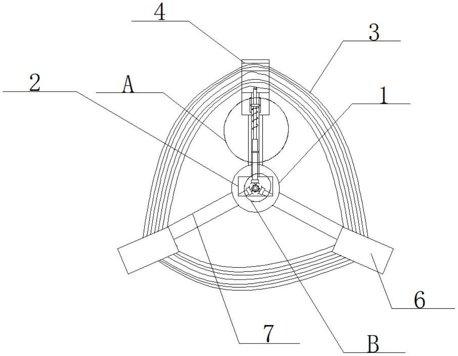
本实用新型属于流量测量技术领域,尤其是一种电磁流量计手动绕线圈,包括安装块,所述安装块上固定安装有三个塑料连接杆且内部开设有安装腔,三个连接杆的一端均固定安装有塑料块且均开设有连接孔,三个塑料块上均开设有定位孔,三个定位孔上缠绕有同一个线圈,三个连接孔内均转动安装有丝杆导套,三个丝杆导套的一端均固定套接有第一塑料端齿且另一端均螺纹套接有塑料丝杆,三个塑料丝杆的一端均转动安装有位于对应的定位孔内的塑料挤压滚珠。本实用新型结构简单、使用方便、所述的一种电磁流量计手动绕线圈,便于对线圈进行固定限位,进行防护,防止晃动,产生位置变化,便于测量。


