授权公布号:CN217788966U
一种固定排插在异形导轨升降台的金属支架
有效
申请
2022-05-13
申请公布
1970-01-01
授权
2022-11-11
预估到期
2032-05-13
| 申请号 | CN202221171416.6 |
| 申请日 | 2022-05-13 |
| 授权公布号 | CN217788966U |
| 授权公告日 | 2022-11-11 |
| 分类号 | H01R13/73 |
| 分类 | 基本电气元件; |
| 申请人名称 | 东莞栢民电子有限公司 |
| 申请人地址 | 广东省东莞市寮步镇横坑横中一路3号1号楼301室 |
专利法律状态
2022-11-11
授权
状态信息
授权
2022-05-13
公布
状态信息
公布
摘要
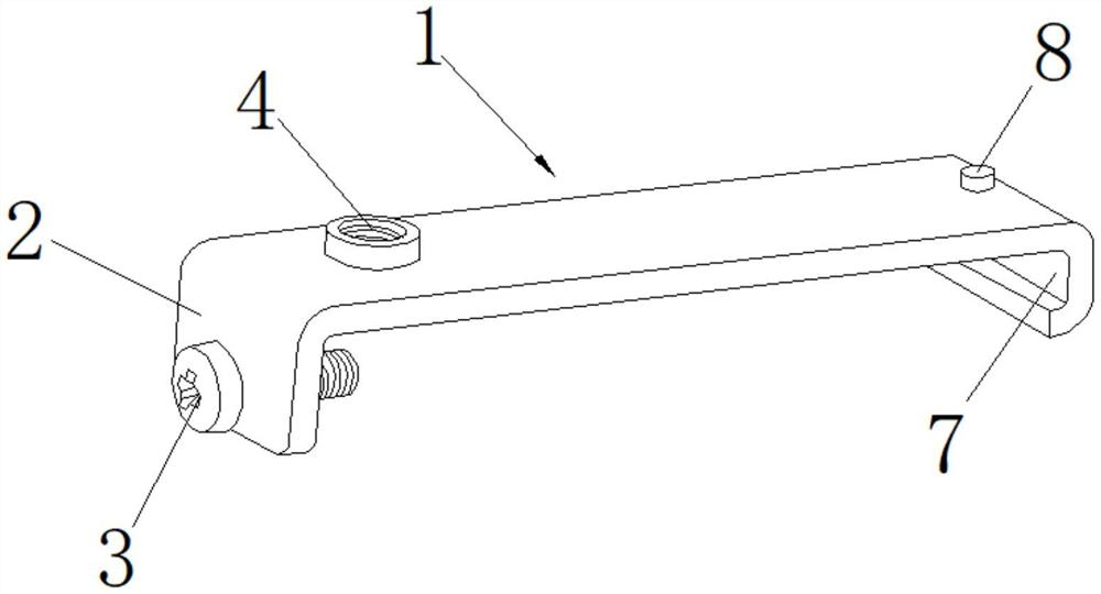
本实用新型公开了一种固定排插在异形导轨升降台的金属支架,包括支架本体,所述支架本体的一端向下折设有折弯部,所述折弯部设有用于与异形支架一侧配合固定的支撑螺丝,所述支架本体的一端贯穿设有与排插底面连接的螺丝孔,所述支架本体的另一端向内折弯形成用于与异形支架另一侧配对安装的U形挂钩。本实用新型的结构简单,安装方便,制作成本低,实用性强,桌面排插通过支架与异形支架的导轨配合连接固定,解决了传统排插在可升降交易台异形轨道上的安装难题。


