授权公布号:CN217427581U
一种分布式地板接线盒
有效
申请
2022-05-31
申请公布
1970-01-01
授权
2022-09-13
预估到期
2032-05-31
| 申请号 | CN202221344231.0 |
| 申请日 | 2022-05-31 |
| 授权公布号 | CN217427581U |
| 授权公告日 | 2022-09-13 |
| 分类号 | H02G3/08;H02G3/12;H02G3/16;H02G3/18;H02G3/14 |
| 分类 | 发电、变电或配电; |
| 申请人名称 | 东莞栢民电子有限公司 |
| 申请人地址 | 广东省东莞市寮步镇横坑横中一路3号1号楼301室 |
专利法律状态
2022-09-13
授权
状态信息
授权
摘要
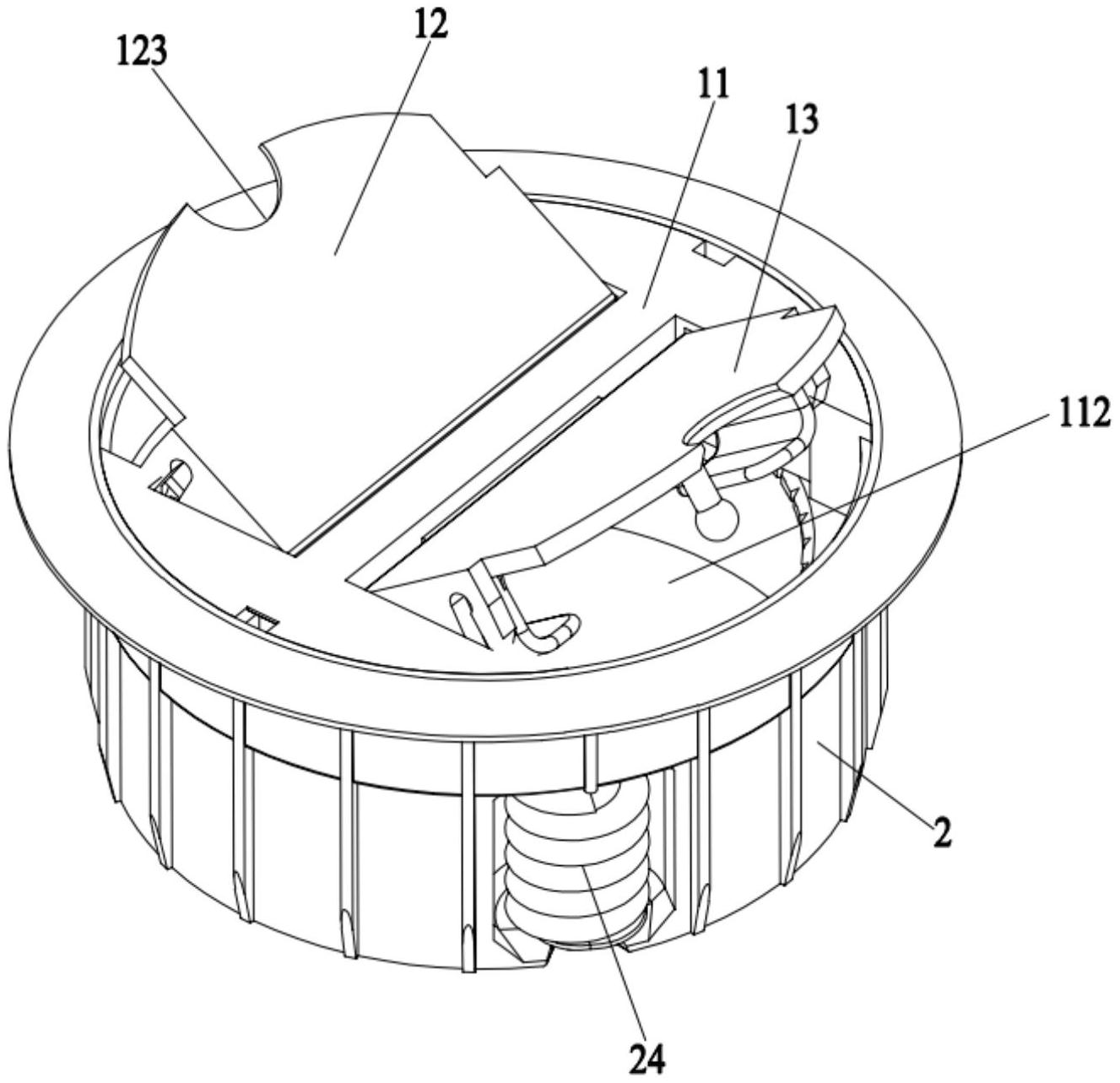
本实用新型涉及接线盒技术领域,具体涉及一种分布式地板接线盒,包括旋转芯和外壳,外壳的内侧壁设置环向卡板将外壳的内分割为上置容腔和下置容腔,环向卡板设有若干均匀分布的限位卡槽,旋转芯的下端部设有向下延伸的卡扣,旋转芯嵌设于上置容腔内并通过卡扣卡设于环向卡板,且旋转芯能在上置容腔内旋转。本实用新型的接线盒结构简单、新颖、使用方便,通过设置能相对外壳内外壳内转动的旋转芯向外拉线可以实现合理布线,遇到狭小空间若接线头发生干涉时,可以适当转动旋转芯,便可有效地避开外围空间的干涉而将接线头合理布局在混凝土地板或混凝土墙壁内,适用范围广,具有很好的市场前景。


