授权公布号:CN217215307U
一种通用固定插头的锁扣装置
有效
申请
2021-08-06
申请公布
1970-01-01
授权
2022-08-16
预估到期
2031-08-06
| 申请号 | CN202121828809.5 |
| 申请日 | 2021-08-06 |
| 授权公布号 | CN217215307U |
| 授权公告日 | 2022-08-16 |
| 分类号 | H01R13/629;H01R13/639;H01R13/627;H01R24/00 |
| 分类 | 基本电气元件; |
| 申请人名称 | 东莞栢民电子有限公司 |
| 申请人地址 | 广东省东莞市寮步镇横坑北门工业区横中一路 |
专利法律状态
2022-08-16
授权
状态信息
授权
摘要
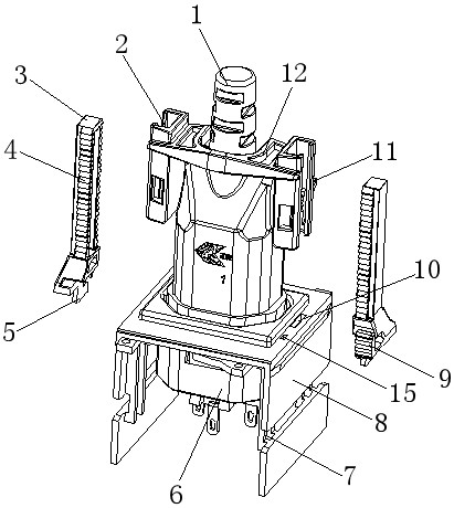
本实用新型公开了一种通用固定插头的锁扣装置,属于锁扣装置技术领域,包括安装面板,所述安装面板的下端中间设置有IEC电源母插,所述IEC电源母插上端设置有IEC电源公插头,所述安装面板的上端两侧设置有锁扣固定件,本实用新型将IEC电源公插头插入IEC电源母插,锁扣固定件下端的L形安装卡扣插入安装孔中,固定卡扣向上抬,沿靠近固定卡孔一端推动锁扣固定件,使固定卡扣下端扣进固定卡孔内,实现锁扣固定件的快速固定,将锁扣锁紧件插入锁扣固定件,向下按压,使之锁紧IEC电源公插头,拆卸时,按压止动卡扣使其卡齿脱离锁紧齿条,向上拉锁扣锁紧件即可拆卸,结构巧妙,方便拆卸。


