授权公布号:CN217740943U
一种按在超薄桌面的内嵌式插座
有效
申请
2022-05-31
申请公布
1970-01-01
授权
2022-11-04
预估到期
2032-05-31
| 申请号 | CN202221343344.9 |
| 申请日 | 2022-05-31 |
| 授权公布号 | CN217740943U |
| 授权公告日 | 2022-11-04 |
| 分类号 | H01R31/06;H01R13/502 |
| 分类 | 基本电气元件; |
| 申请人名称 | 东莞栢民电子有限公司 |
| 申请人地址 | 广东省东莞市寮步镇横坑横中一路3号1号楼301室 |
专利法律状态
2022-11-04
授权
状态信息
授权
摘要
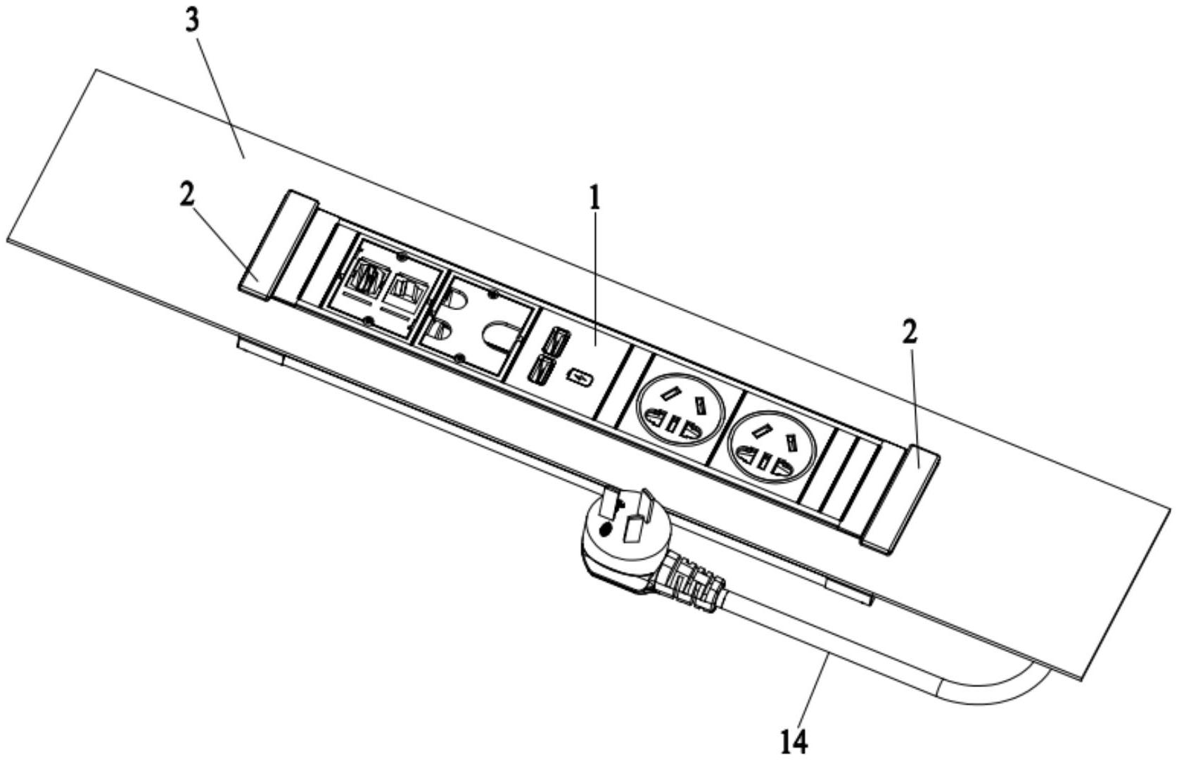
本实用新型涉及插座技术领域,具体涉及一种按在超薄桌面的内嵌式插座,包括插座模块和设置在插座模块两端的卡扣件,卡扣件包括一体成型的基板、卡扣部和固定柱,固定柱设置于基板的下端面,卡扣部设置于基板的下端面,卡扣部分别位于固定柱的一侧,基板的两端延伸设有卡板部,插座模块的两端对应于固定柱设有固定插孔,固定柱设置于固定插孔内。本实用新型的内嵌式插座结构简单、使用方便,通过在插座模块的两端设置卡扣件可以将内嵌式插座安装于各种桌面,既节省空间,也使桌面显得整洁,在固定时利用卡板部卡合在桌面的上表面,卡扣部卡何在桌面的下表面,将插座内嵌固定于桌面的安装部,解决了以往采用螺钉固定方式破会桌面完整性的问题。


