授权公布号:CN218192925U
一种双钳口送料输送用锯床
有效
申请
2022-10-09
申请公布
1970-01-01
授权
2023-01-03
预估到期
2032-10-09
| 申请号 | CN202222651540.9 |
| 申请日 | 2022-10-09 |
| 授权公布号 | CN218192925U |
| 授权公告日 | 2023-01-03 |
| 分类号 | B23D51/04 |
| 分类 | 机床;不包含在其他类目中的金属加工; |
| 申请人名称 | 福建恒而达新材料股份有限公司 |
| 申请人地址 | 福建省莆田市荔城区新度镇厝柄工业区 |
专利法律状态
2023-01-03
授权
状态信息
授权
摘要
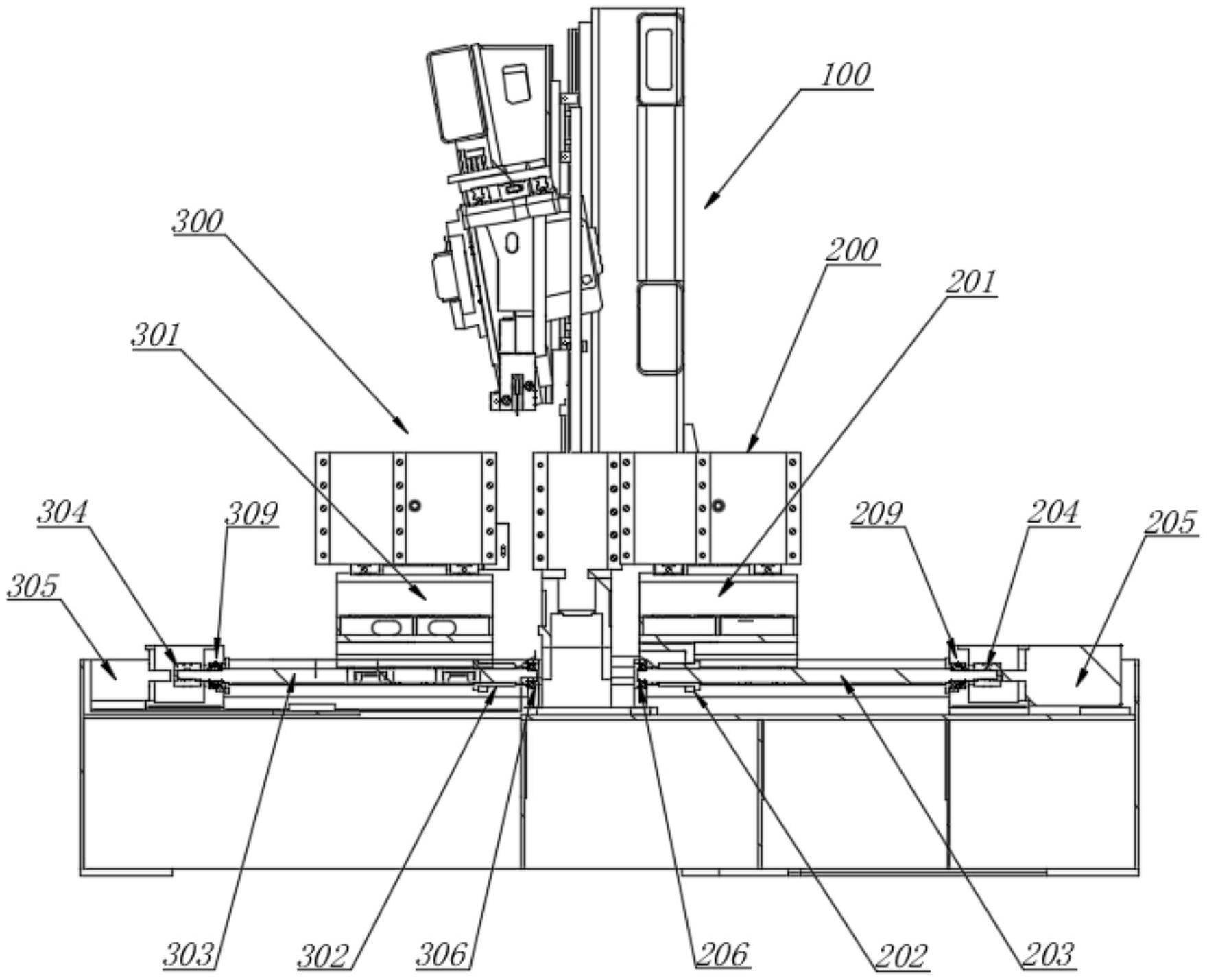
本实用新型涉及一种双钳口送料输送用锯床,包括设置在锯切装置两侧并且在垂直于锯切装置方向上运动的送料钳口装置与出料钳口装置以及供工件移动的工作台;所述送料钳口装置、出料钳口装置两者的滑轨延长线相重合;所述送料钳口装置与出料钳口装置在移动路径上可无缝接触。本实用新型通过双钳口装置能够对工件的两侧同时进行夹紧,实现更加稳定的切割效果,并且将两个钳口的滑轨延长线重合设置,能够在进料钳口与出料钳口运动时保证平直度,并且在夹紧时保证同步性;进一步的双钳口在移动路径上可以进行无缝接触,这样使得双钳口能够靠的更近,工件的尾料大幅度减少,最少可以达到10mm,提高了材料的利用率。


