授权公布号:CN215713070U
一种气动刀用进气消声器
有效
申请
2021-01-19
申请公布
1970-01-01
授权
2022-02-01
预估到期
2031-01-19
| 申请号 | CN202120142451.4 |
| 申请日 | 2021-01-19 |
| 授权公布号 | CN215713070U |
| 授权公告日 | 2022-02-01 |
| 分类号 | C14B17/14;C14B5/00 |
| 分类 | 小原皮;大原皮;毛皮;皮革; |
| 申请人名称 | 福建恒而达新材料股份有限公司 |
| 申请人地址 | 福建省莆田市荔城区新度镇厝柄工业区 |
专利法律状态
2022-02-01
授权
状态信息
授权
摘要
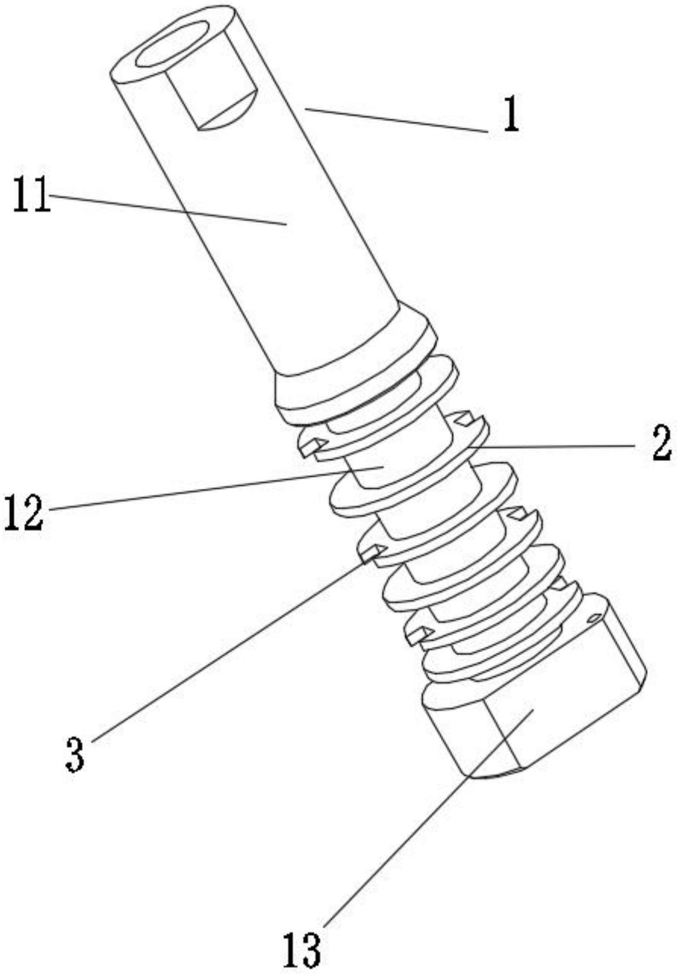
本实用新型公开了一种气动刀用进气消声器,包括进气管;所述进气管轴向依次间隔设有若干环形消声隔板;所述环形消声隔板上设有透气缺口,相邻两环形消声隔板上的透气缺口不同向,相邻两环形消声隔板之间的距离沿着进气方向逐渐减小。本实用新型通过间隔设置的环形消声隔板的特殊结构设置,能够有效的增加气动刀气体出气的行进距离,以及有效的增加气体与隔板的震动次数,有效的降低高频噪音。


