授权公布号:CN218192924U
一种锯床锯切的辅助导向下刀装置
有效
申请
2021-10-15
申请公布
1970-01-01
授权
2023-01-03
预估到期
2031-10-15
| 申请号 | CN202122493055.9 |
| 申请日 | 2021-10-15 |
| 授权公布号 | CN218192924U |
| 授权公告日 | 2023-01-03 |
| 分类号 | B23D51/00;B23D51/08 |
| 分类 | 机床;不包含在其他类目中的金属加工; |
| 申请人名称 | 福建恒而达新材料股份有限公司 |
| 申请人地址 | 福建省莆田市荔城区新度镇厝柄工业区 |
专利法律状态
2023-01-03
授权
状态信息
授权
摘要
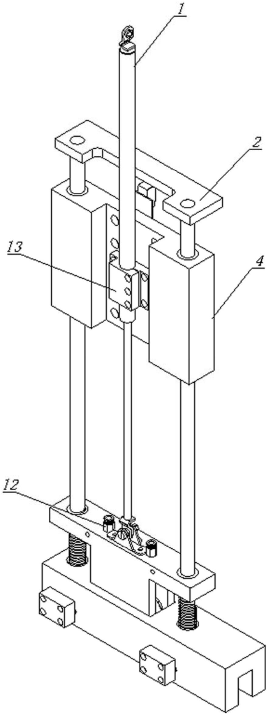
本实用新型涉及一种锯床锯切的辅助导向下刀装置,其包括:连接于锯床横梁上的升降座,所述升降座上固定连接有用于升降的氮气弹簧缸,氮气弹簧缸通过氮气缸安装座连接于升降座上,所述氮气弹簧缸的缸头上固定连接有锯条压轮组件;所述锯条压轮组件包括固定连接于氮气弹簧缸的缸头上的支架,所述支架上通过插销连接有压轮座,所述压轮座的中部连接于插销上;所述压轮座的两侧分别连接有压轮;本实用新型结构简单,减少锯条下刀时候左右抖动,上下跳动,更加稳定的进行工件的表皮切割,对锯条进行保护作用,延长使用寿命。


