授权公布号:CN217492932U
一种方便安装的钢锯条
失效
申请
2022-03-07
申请公布
1970-01-01
授权
2022-09-27
预估到期
2032-03-07
| 申请号 | CN202220493653.8 |
| 申请日 | 2022-03-07 |
| 授权公布号 | CN217492932U |
| 授权公告日 | 2022-09-27 |
| 分类号 | B23D61/16 |
| 分类 | 机床;不包含在其他类目中的金属加工; |
| 申请人名称 | 威库司锯业(上海)有限公司 |
| 申请人地址 | 上海市松江区茸北路330弄4号厂房 |
专利法律状态
2024-03-15
专利权的终止
状态信息
未缴年费专利权终止;IPC(主分类):B23D61/16;申请日:20220307;授权公告日:20220927
2022-09-27
授权
状态信息
授权
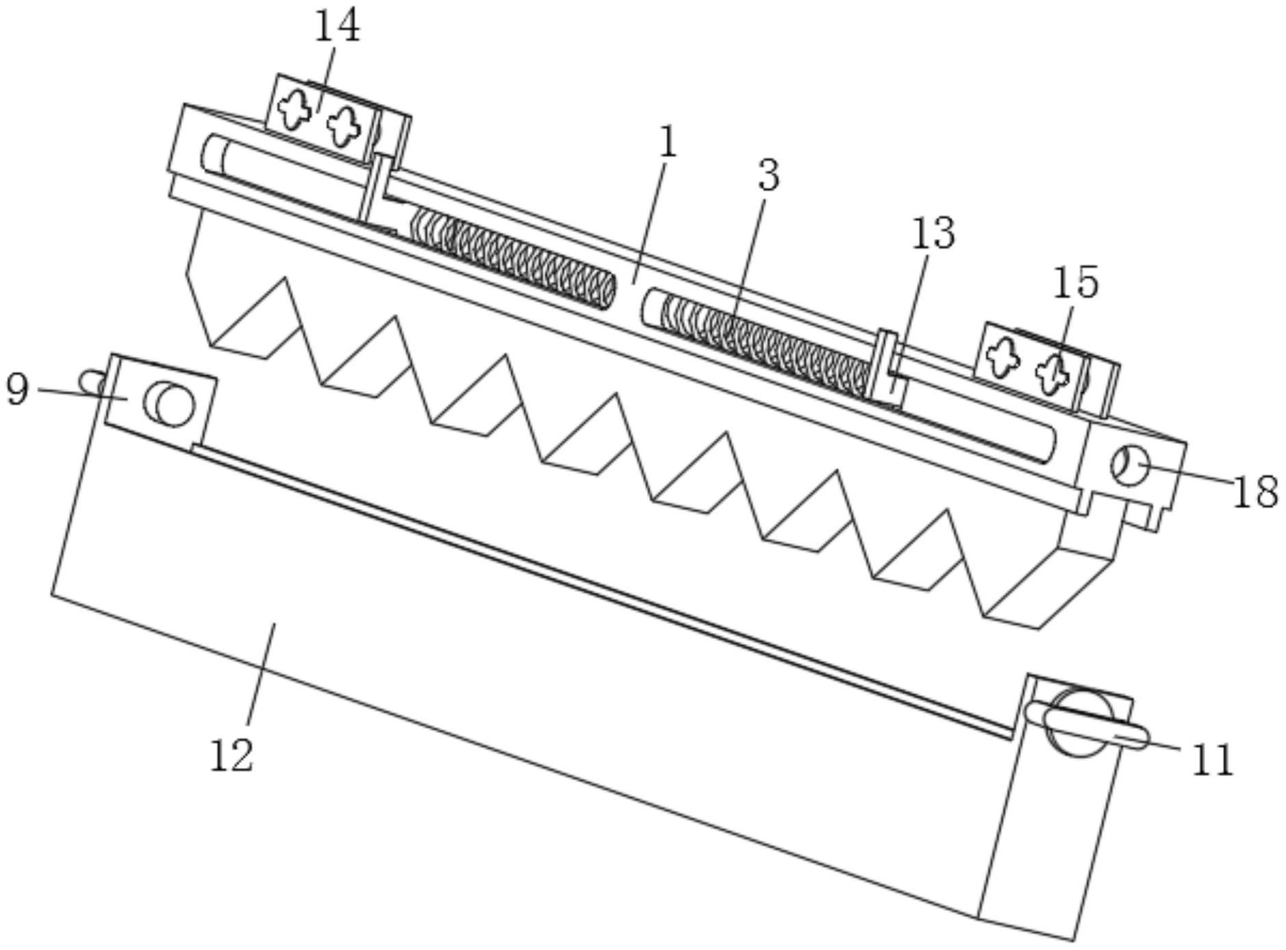
摘要
本实用新型公开了一种方便安装的钢锯条,包括固定架,所述固定架的内部开设有调节槽,所述调节槽的内部固定连接有内部弹簧,所述内部弹簧的一端固定连接有移动座,所述移动座的侧面固定连接有固定杆,所述固定杆的表面滑动连接有固定槽,所述固定槽开设在钢锯条杆上,所述钢锯条杆的底部固定连接有钢锯齿,所述固定架的侧面滑动连接有侧面座,所述侧面座的底部固定连接有防护罩,所述防护罩的内部与钢锯条杆活动连接。本实用新型通过内部弹簧、移动座、固定杆和固定槽之间的配合下,方便工作人员根据钢锯条的长度进行调整,从而避免安装的时候,安装不够便捷,影响工作人员的正常安装效果,造成不必要的损失。


