授权公布号:CN102550477B
旋转喷水增氧泵
有效
申请
2012-03-15
申请公布
2012-07-11
授权
2014-04-16
预估到期
2032-03-15
| 申请号 | CN201210068513.7 |
| 申请日 | 2012-03-15 |
| 申请公布号 | CN102550477A |
| 申请公布日 | 2012-07-11 |
| 授权公布号 | CN102550477B |
| 授权公告日 | 2014-04-16 |
| 分类号 | A01K63/04 |
| 分类 | 农业;林业;畜牧业;狩猎;诱捕;捕鱼; |
| 申请人名称 | 金湖县华能机电有限公司 |
| 申请人地址 | 江苏省淮安市金湖县工业园神华大道198号 |
专利法律状态
2014-04-16
授权
状态信息
授权
2012-09-12
实质审查的生效
状态信息
实质审查的生效IPC(主分类):A01K 63/04申请日:20120315
2012-07-11
公布
状态信息
公布
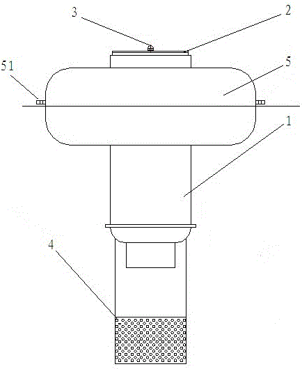
摘要
本发明公开了一种旋转喷水增氧泵,在水泵的喷水口设置叶轮盘,所述叶轮盘由密布小孔的底板和固定设置在底板下表面的导流叶片组成,所述底板中心设有与叶轮轴相匹配的孔,叶轮盘活动连接于叶轮轴上,叶轮轴与水泵的输出轴固定连接。本发明由于在水泵喷水孔加装了叶轮盘,水泵喷水口的水冲击叶轮盘旋转,水经叶轮片搅动从叶轮盘底板上的小孔喷出后向四周甩出,使水雾化,产生气泡,增强了溶氧效果。


