授权公布号:CN212212372U
广角粉料投饲机
有效
申请
2020-06-01
申请公布
1970-01-01
授权
2020-12-25
预估到期
2030-06-01
| 申请号 | CN202020965117.4 |
| 申请日 | 2020-06-01 |
| 授权公布号 | CN212212372U |
| 授权公告日 | 2020-12-25 |
| 分类号 | A01K61/80 |
| 分类 | 农业;林业;畜牧业;狩猎;诱捕;捕鱼; |
| 申请人名称 | 金湖县华能机电有限公司 |
| 申请人地址 | 江苏省淮安市金湖县工业园神华大道198号 |
专利法律状态
2020-12-25
授权
状态信息
授权
摘要
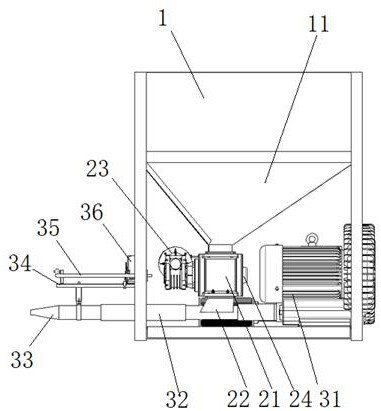
本实用新型公开了广角粉料投饲机,包括料箱、下料机构和抛料机构,料箱设于机架上部,料箱底部的斗状出料口与下料机构的下料管连通,下料管下方设接料盒,抛料机构包括风机、输料软管、喷嘴、导轨、滑杆和摆杆电机,风机出风口、输料软管分别与接料盒连通,喷嘴安装在输料软管另一端,导轨、滑杆位于输料软管上方,滑杆一端受驱连接摆杆电机,另一端活动卡接在导轨上,且吊接喷嘴,滑杆受驱沿导轨带动喷嘴左右摆动。本实用新型叶片翻动下料,风机吹鼓,通过可摆动输料软管喷撒,投料范围广且均匀。


